Drive Motor Control Module
System Circuit Diagram
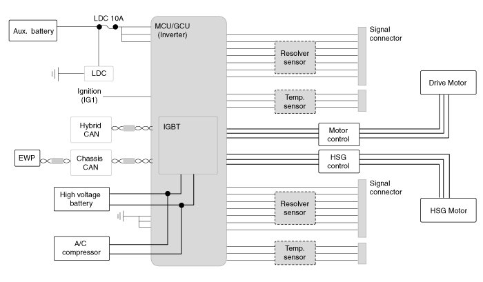
A high-capacity power module is applied to control 2 primary motors using high voltage. The power module is composed of a high-speed switching insulated gate bipolar transistor (IGBT) and a diode circuit. The high voltage battery capacity is about 270V, but to ensure stability and reliability the power module uses high capacity power with a maximum voltage of 650V.
MCU Terminal and Input/ Output signal
MCU Terminal Function
Connector (CHG34-S)
MCU terminal Input/Output signal