Curiosii for ever!: Car repair manuals for everyone.

Axle Nut





Axle Nut

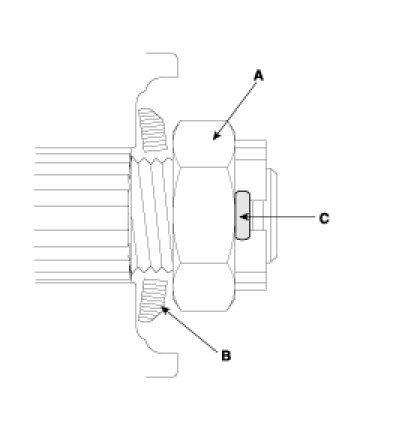
Remove the split pin(A), then remove castle nut(B) and washer(C) from the front hub under applying the break.

Tightening torque 200 - 280 N.m (20.0 - 28.0 kgf.m, 144.6 - 202.5 lb-ft)






CAUTION: The washer (B) should be assembled with convex surface outward when installing the castle nut (A) and split pin (C).