Curiosii for ever!
: Car repair manuals for everyone.
Home
>>
Hyundai
>>
2013
>>
Azera V6-3.3L
>>
Repair and Diagnosis
>>
Diagrams
>>
Electrical Diagrams
>>
Entertainment Systems
>>
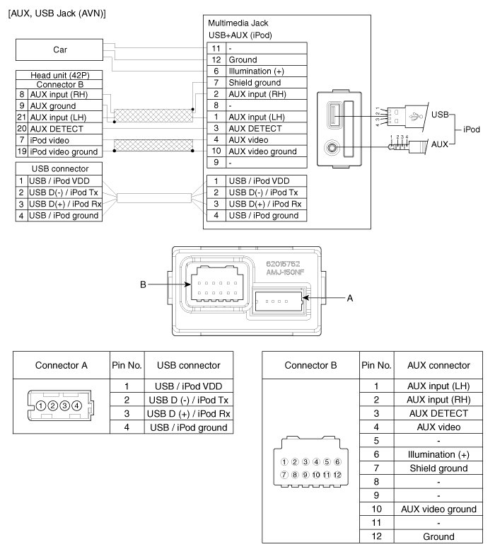
Auxiliary Input / Output Jack, Entertainment System
Auxiliary Input / Output Jack, Entertainment System
Circuit Diagram