Curiosii for ever!: Car repair manuals for everyone.

Rain Sensor: Service and Repair





Inspection

Rain Sensing Wiper
1. In IGN2 ON state, if auto switch input (LIN communication) is ON then both wiper low relay and wiper high relay outputs are controlled by the rain sensor input signal.
2. If the wiper switch has been left in automatic mode with the vehicle ignition OFF, and then the vehicle ignition switch is turned on, a single wipe will be performed.




3. A single wipe will be performed whenever rain has been detected (Rain Detected signal from Rain sensor) and the wiper switch is moved to the AUTO position. But a single wipe will not be performed when the wiper switch is moved to the AUTO position and OFF signal is being received from Rain sensor. But if the wiper switch is moved to AUTO position for the first time since vehicle ignition switch is turned on then a single wipe will be performed regardless of Rain Detected or OFF signal.




4. The drive may adjust the rain sensor performance by adjusting the sensitivity input. When in automatic mode, the BCM will perform a single wipe each time the sensitivity is adjusted upward to a more sensitive setting (downward more then one step). This single wipe will only be performed if Rain Detected signal is being received from the Rain sensor. If the sensitivity adjustment is adjusted upward more than one sensitivity, the BCM will only perform a single wipe unless the time between Increases is more than 2 seconds.




5. Fault strategy for the rain sensor
Rain Sensor Fault 1 - Internal Fault Detected
This failure is detected when the wiper is in automatic mode and the input faulty rain sensor from the rain sensor has a duty cycle corresponding to Fault 1. The confirmation delay for the failure is of 1 sec.
When this failure is detected, the wiper outputs are OFF and the wiper will also do a wipe in slow speed on the transition from sensitivity 3 to sensitivity 2 (Step 2 to 3) in order to signal the presence of this fault. If another sensitivity is set, the wiper won't make any additional wipe.




Rain Sensor Fault 2 - Glass Attachment Fault Detected
This failure is detected when the wiper is in automatic mode and the input faulty rain sensor from the rain sensor has a duty cycle corresponding to Fault 2. The confirmation delay for the failure is of 1 s.
When this failure is detected, the wiper outputs are OFF and the wiper will also do a wipe on the transition from sensitivity 4 to sensitivity 3 (Step 1 to 2) in order to signal the presence of this fault. If another sensitivity is set, the wiper won't make any additional wipe.




Rain Sensor Fault 3 - No Input Signal Present
This failure is detected when the wiper is in automatic mode and the input faulty rain sensor from the rain sensor has a duty cycle corresponding to Fault 3 or in case the duty cycle of the input faulty rain sensor is 0% or 100%. The confirmation delay for the failure is of 1 s.
When this failure is detected, the wiper outputs are OFF.

Removal

CAUTION:
The dust or foreign substance on the rain sensor have a bad effect upon the rain sensor capability,so protect the sensor surface with protection cover until installing the rain sensor to bracket for accurate funtion.
The coupling pad on the rain sensor surface has adhesive strength, so the coupling pad could stick to the windshield by environment condition during the using time.
If separate it by force, it could be damaged. So make sure to separate the rain sensor from the windshield carefully.

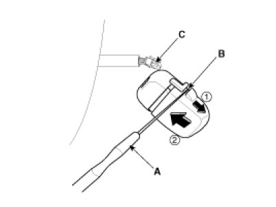
1. Remove the rain sensor and LDWS unit cover (A) first.




2. Be careful not to damage the cover latch by applying excessive force. To remove the latch, pull aside the latch using the cover hole (B) with a small flat - blade screwdriver (A).




3. Remove the wiring harness connector (C) from sensor.
4. Rain sensor module is attached to the front windshield by glue replacing the front windshield, remove the rain sensor module from the existing front windshield and install on the new front windshield.

Installation

NOTE:
- In case of the windshield with reflection layer which reflects the infrared rays in sensing field, should install the rain sensor into the field removed the reflection layer.
- Install the rain sensor after some time and be care not to be settled the dust after installation.

1. Install the rain sensor bracket to the windshield glass using the tape.





CAUTION:
It is very important that the coupling pad pushes the windshield completely to stick to each other without bubbles.

2. Connect the rain sensor connector, and then install the sensor cover.