Curiosii for ever!: Car repair manuals for everyone.

Repair Procedures





Inspection

1. Ignition "OFF"
2. Disconnect ambient temperature sensor.
3. Check the resistance of ambient temperature sensor between terminals 1 and 2 whether it is changed by changing of the ambient temperature.
[Specification]









4. If the measured resistance is not specification, substitute with a known-good ambient temperature sensor and check for proper operation.
5. If the problem is corrected, replace the ambient temperature sensor.

Replacement

1. Disconnect the negative (-) battery terminal.
2. Remove the front bumper.
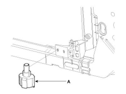
3. Remove the ambient temperature sensor (A).




4. Installation is the reverse order of removal.