Curiosii for ever!
: Car repair manuals for everyone.
Home
>>
Hyundai
>>
2010
>>
Genesis Sedan V8-4.6L
>>
Repair and Diagnosis
>>
Diagrams
>>
Electrical Diagrams
>>
Headlamp
>>
Headlamp Alignment Control Module
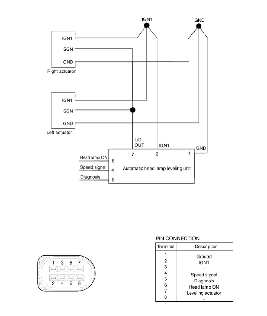
Headlamp Alignment Control Module
Circuit Diagram