Curiosii for ever!: Car repair manuals for everyone.

Spark Plug: Testing and Inspection





Inspection

1. Disconnect the spark plug cables from the spark plugs.

NOTE:
When removing the spark plug cable, pull on the spark plug cable boot (not the cable), as it may be damaged.

2. Using a spark plug socket, remove all spark plugs from the cylinder head.

CAUTION:
Be careful that no contaminants enter through the spark plug holes.

3. Check the spark plugs for the following :
A. Broken insulator
B. Worn electrode
C. Carbon deposits
D. Damaged or broken gasket
E. Condition of the porcelain insulator at the tip of the spark plug




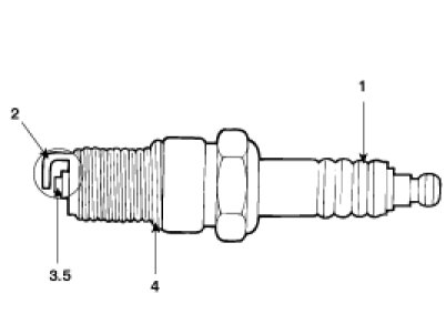
4. Check the spark plug gap using a wire gap(A) gauge, and adjust if necessary.

Standard value :1.0-1.1 mm (0.039-0.043 in)




5. Re-insert the spark plug and tighten to the specified torque.
If it is over torqued, damage to the threads of the cylinder head may result.

Tightening torque :
20-30 Nm (2.0-3.0 kgf.m, 15-21 lb-ft)


Analyzing Spark Plugs
Engine conditions can be analyzed by examining the tip deposits near the electrode.






Resistance Inspection