Curiosii for ever!
: Car repair manuals for everyone.
Home
>>
Hyundai
>>
2010
>>
Azera V6-3.8L
>>
Repair and Diagnosis
>>
Diagrams
>>
Exploded Views
>>
Automatic Transmission/Transaxle
>>
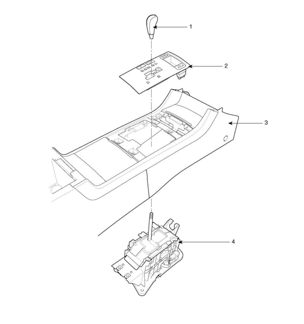
Shifter A/T
Shifter A/T
Components