Curiosii for ever!: Car repair manuals for everyone.

Repair Procedures





Replacement

Removal

NOTE:
- Put on gloves to protect your hands.
- Use seat covers to avoid damaging any surfaces.

1. Remove the following items.
A. Inside rear view mirror.
B. Sun visors and holders, both side, overhead console, grab handles, both sides.
C. Front pillar trim, both sides.
D. Windshield wiper arms and cowl cover.
2. Remove the windshield glass side molding (A).




3. Pull down the front portion of the headliner. Take care not to bend the headliner excessively, or you may crease or break it.
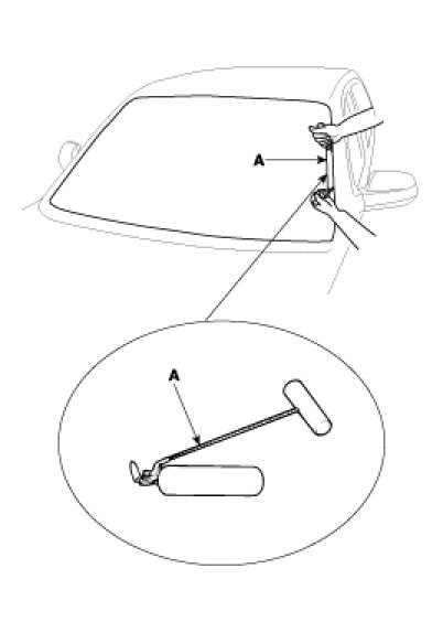
4. Cut out the sealant using the sealant cutting tool (A)(09861-31100).




5. Remove the windshield (A) carefully using the glass holder (B)(09861-31100).





Installtion
1. Remove the excess sealant from the glass with a window scraper.




2. Remove the excess sealant and foam dam from the body with a knife.




3. Clean the inside of the glass with commercial glass cleaner and a lint-free cloth.
4. Prime an area approximately 20 mm(3/4 inch) wide around the complete perimeter of the glass.
5. Prime the contact area on the body.




6. Reprime the same area on the inside surface of the glass.

CAUTION:
Do not permit any primed surface to become contaminated with dirt, water, oil, etc.
Do not touch primed surfaces with your hands.
Contamination will affect adhesion.

7. Install the self-adhesive foam dam to the body where the original dam had been.




8. Apply the sealant bead to the body just outside the dam. The bead should be slightly higher than the dam.




9. Install molding on the glass.




10. Install the glass into the body making sure the glass rests upon the two spacers at the bottom of the windshield.




11. Press glass firmly into place.









CAUTION:
Lower both front door windows and leave them in that condition until the vehicle can be put back into service. If the vehicle were completely closed, quickly closing a door could break the seal.

12. Remove excess sealant, if any.
13. Press molding molding firmly into place.
14. Perform water leak test immediately.
15. Clean the outside of the windshield.
16. Install both of the front pillar trim.
17. Install the inside rearview mirror.
18. Install the cowl top cover with three fasteners.
19. Install both wiper arm assemblies with one nut each.