Curiosii for ever!: Car repair manuals for everyone.

Overhaul





Disassembly

1. Disconnect the M-terminal (A) on the magnet switch assembly (B).




2. After loosening the 3 screws (A), detach the magnet switch assembly (B).




3. Loosen the through bolts (A).




4. Remove the brush holder assembly (A), yoke (b) and armature (C).




5. Remove the shield (A) and packing (B).




6. Remove the lever plate (A) and lever packing (B).




7. Disconnect the planet gear (A).




8. Disconnect the planet shaft assembly (A) and lever (B).




9. Press the stop ring (A) using a socket (B).




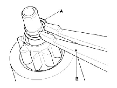
10. After removing the stopper (A) using stopper pliers (B).




11. Disconnect the stop ring (A), overrunning clutch (B), internal gear (C) and planet shaft (D).




12. Reassembly is the reverse of disassembly.

NOTE:
Using a suitable pulling tool (A), pull the overrunning clutch stop ring (B) over the stopper (C).