Curiosii for ever!: Car repair manuals for everyone.

Rain Sensor: Service and Repair





Removal

CAUTION:
The dust or foreign substance on the rain sensor have a bad effect upon the rain sensor capability,so protect the sensor surface with protection cover until installing the rain sensor to bracket for accurate funtion.
The coupling pad on the rain sensor surface has adherive strength, so the coupling pad could stick to the windshield by environment condition during the using time.
If separate it by force, it could be damaged. So make sure to separate the rain sensor from the windshield carefully.

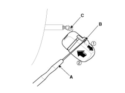
1. Remove the rain sensor cover (A) first.




2. Be careful not to damage the cover latch by applying excessive force. To remove the latch, pull aside the latch using the cover hole (B) with a small flat - blade screwdriver (A).




3. Remove the wiring harness connector (C) from sensor.
4. Rain sensor module is attached to the front windshield by glue replacing the front windshield, remove the rain sensor module from the existing front windshield and install on the new front windshield.

Installation

NOTE:
- In case of the windshield with reflection layer which reflects the infrared rays in sensing field, should install the rain sensor into the field removed the reflection layer.
- Install the rain sensor after some time and be care not to be settled the dust after installation.

1. Install the rainsensor bracket to the windshield glass using the tape.





CAUTION:
It is very important that the coupling pad pushes the windshield completely to stick to each other without bubbles.

2. Connect the rainsensor connector, and then install the sensor cover.