Curiosii for ever!
: Car repair manuals for everyone.
Home
>>
Hyundai
>>
2009
>>
Accent L4-1.6L
>>
Repair and Diagnosis
>>
Heating and Air Conditioning
>>
Climate Control Exhaust Gas Sensor
>>
Service and Repair
>>
Repair Procedures
Repair Procedures
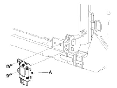
Replacement
1.
Disconnect the negative (-) battery terminal.
2.
Remove the front bumper .
3.
Remove the AQS (B) after loosening the mounting bolts (A).
4.
Installation is the reverse order of removal.