Curiosii for ever!: Car repair manuals for everyone.

Fuel Filter: Service and Repair

FUEL PUMP

REMOVAL (INCLUDING FUEL FILTER AND FUEL PRESSURE REGULATOR)

1. Preparation
1. Remove the rear seat cushion.
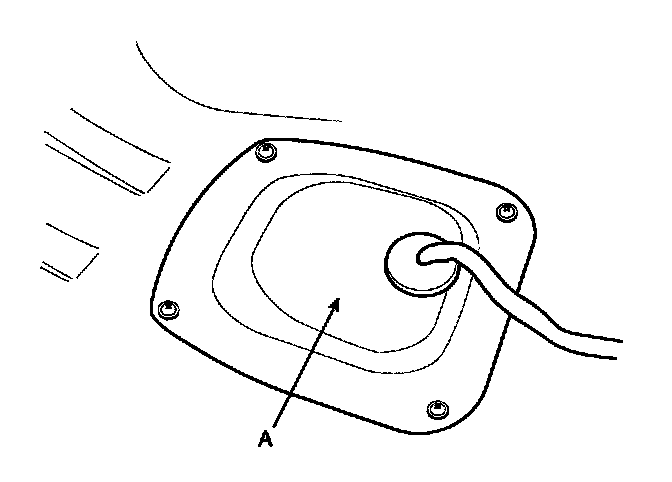
2. Open the service cover (A).






3. Disconnect the fuel pump connector (A).






4. Start the engine and wait until fuel in fuel line is exhausted.
5. After engine stalls, turn the ignition switch to OFF position.

2. Disconnect the fuel feed tube quick-connector (A), the vacuum tube quick-connector (B) and canister close valve connector (C).






3. Remove the rubber cover (D).
4. Unscrew the fuel pump plate cover (A) with the special service tool (SST No.: 09310-28200) and remove the fuel pump assembly.









INSTALLATION
Installation is reverse of removal.

Fuel Pump Plate Cover Tightening: 78.5 - 98.1 N.m (8.0 - 10.0 kgf.m, 57.9 - 72.4 lbf.ft)