Curiosii for ever!: Car repair manuals for everyone.

Floor Console Replacement

FLOOR CONSOLE REPLACEMENT

NOTE:
- When prying with a flat-up screwdriver, wrap it with protective tape, and apply protective tape around the related parts, to prevent damage.
- Put on gloves to protect your hands.

1. Remove the knob (A).






2. After remove the center cover (A), disconnect the connector (B).






3. Remove the upper cover garnish (A).






4. Remove the floor console tray.
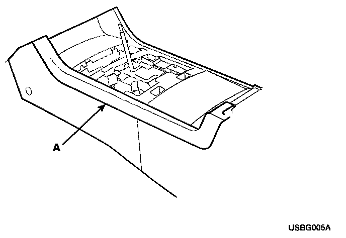
5. After loosening the console mounting screw, then remove the floor console assembly (A).
6. Disconnect the connector (B), then remove the rear floor console.






7. Installation is the reverse of removal.