Curiosii for ever!: Car repair manuals for everyone.

Blower Motor: Service and Repair

BLOWER UNIT

REMOVAL
1. Disconnect the negative cable from the battery.
2. Remove the crash pad.




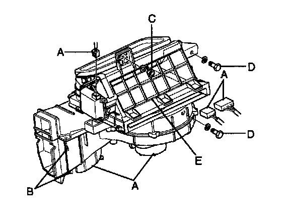
3. Disconnect the connectors (A) from the blower relay the blower motor, the blower resistor (or power transistor) and the fresh and recirculation actuator.
Remove the self-tapping screws (B), the mounting nut (C), the mounting bolts (D) and the blower unit (E).

NOTE: Make sure that there is no air leaking out of the blower and duct joints.