Curiosii for ever!: Car repair manuals for everyone.

Overhaul

STARTER

INSPECTION




BRUSH
A brush worn down to the wear limit line should be replaced.




BRUSH HOLDER
Check for continuity between the (+) side brush holder and brush holder base. If there is continuity, replace the holder assembly.




OVERRUNNING CLUTCH
Inspect the pinion and spline teeth for wear or damage. Replace if damaged. Also inspect the flywheel ring gear for damage.
Rotate the pinion. should turn freely in a clockwise direction, and lock when turned counterclockwise.

PINION GAP ADJUSTMENT
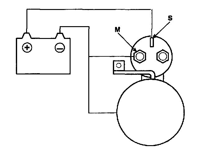
1. Disconnect the wire from the M-terminal.
2. Connect a 12 V battery between the S-terminal and the M-terminal.




3. Set the switch to "ON", and the pinion will move out.

CAUTION: This test must be performed quickly (in less than 10 seconds) to prevent the coil from burning.

4. Check the pinion to stopper clearance (pinion gap) with a feeler gauge. If the pinion gap is out of specification, adjust by adding or removing washers between the solenoid and the front bracket.

SOLENOID PULL-IN TEST
1. Disconnect the connector from the M-terminal.
2. Connect a 12 V battery between the S-terminal and M-terminal.

CAUTION: This test must be performed quickly (min less than 10 seconds) to prevent the coil from burning.




3. If the pinion moves out, the pull-in coil is good. If it doesn't, replace the solenoid.

SOLENOID HOLD-IN TEST
1. Disconnect the connector from the M-terminal.
2. Connect a 12 V battery between the S-terminal and the body.

CAUTION: This test must be performed quickly (in less than 10 seconds) to prevent the coil from burning.




3. If the pinion remains out, everything is in order. If the pinion moves in, the hold-in circuit is open. Replace the magnetic switch.

SOLENOID RETURN TEST
1. Disconnect the connector from the M-terminal.
2. Connect a 12 V battery between the M-terminal and the body.

CAUTION: This test must be performed quickly (in less than 10 seconds) to prevent the coil from burning.




3. Pull out the pinion and then release it. If the pinion returns quickly to its original position, everything is in order. If it doesn't, replace the solenoid.

PERFORMANCE TEST (NO-LOAD)
1. Make the no-load circuit test as shown.




2. After adjusting the rheostat until the battery voltage shown on the voltmeter reads 11.5 volts, confirm that the maximum amperage draw is within the specifications and that the starter motor turns smoothly and freely.