Curiosii for ever!
: Car repair manuals for everyone.
Home
>>
Hyundai
>>
2006
>>
Tiburon V6-2.7L
>>
Repair and Diagnosis
>>
Heating and Air Conditioning
>>
Condenser Fan
>>
Testing and Inspection
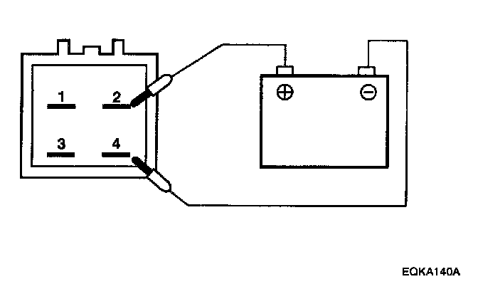
Condenser Fan: Testing and Inspection
CONDENSER FAN
1.
Check the connector for connection condition.
2.
Check the
condenser fan motor
using battery voltage