Curiosii for ever!: Car repair manuals for everyone.

Initial Inspection and Diagnostic Overview

ON-VEHICLE INSPECTION

SPARK TEST




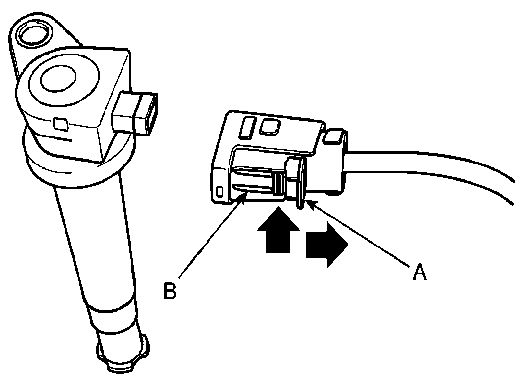
1. Remove the ignition coil connector (A).






NOTE: When removing the ignition coil connector, pull the lock pin (A) and push the clip (B).

2. Remove the ignition coil (B).
3. Using a spark plug socket, remove the spark plug.
4. Install the spark plug to the ignition coil.




5. Ground the spark plug to the engine.




6. Check if spark occurs while engine is being cranked.

NOTE: To prevent fuel being injected from injectors while the engine is being cranked, remove the fuel pump relay (A) from the fuse box. Crank the engine for no more than 5 - 10 seconds.

7. Inspect all the spark plugs.
8. Using a spark plug socket, install the spark plug.
9. Install the ignition coil.




10. Reconnect the ignition coil connector.