Curiosii for ever!
: Car repair manuals for everyone.
Home
>>
Hyundai
>>
2005
>>
XG 350 V6-3.5L
>>
Repair and Diagnosis
>>
Powertrain Management
>>
Diagrams
>>
Electrical Diagrams
>>
System Schematic
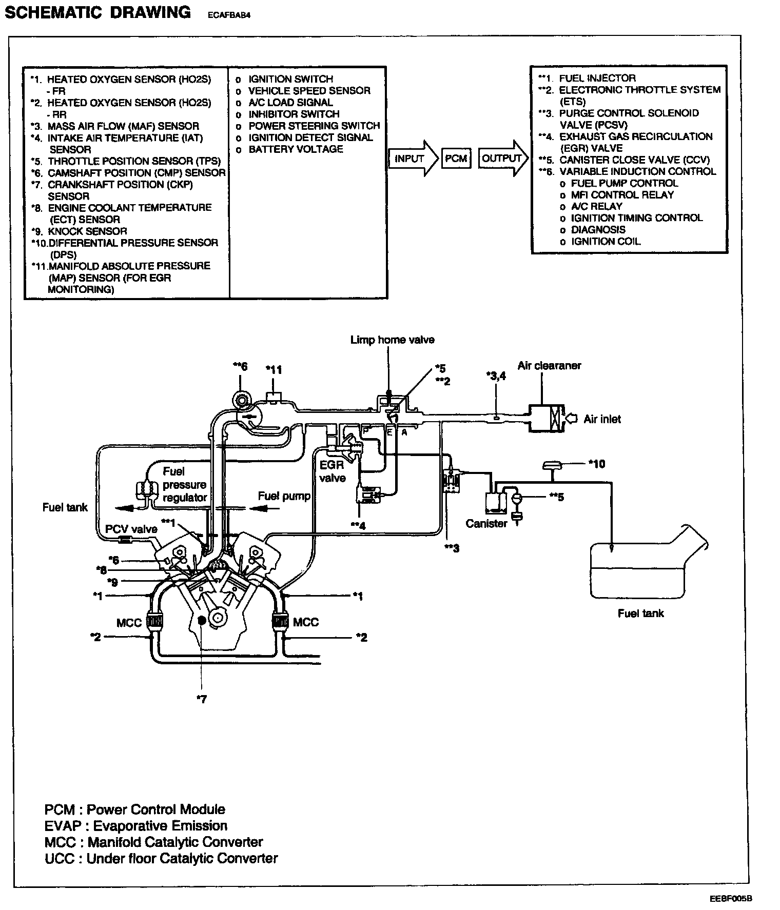
System Schematic
Schematic Drawing: