Curiosii for ever!
: Car repair manuals for everyone.
Home
>>
Hyundai
>>
2004
>>
XG 350 V6-3.5L
>>
Repair and Diagnosis
>>
Heating and Air Conditioning
>>
System Relay
>>
Locations
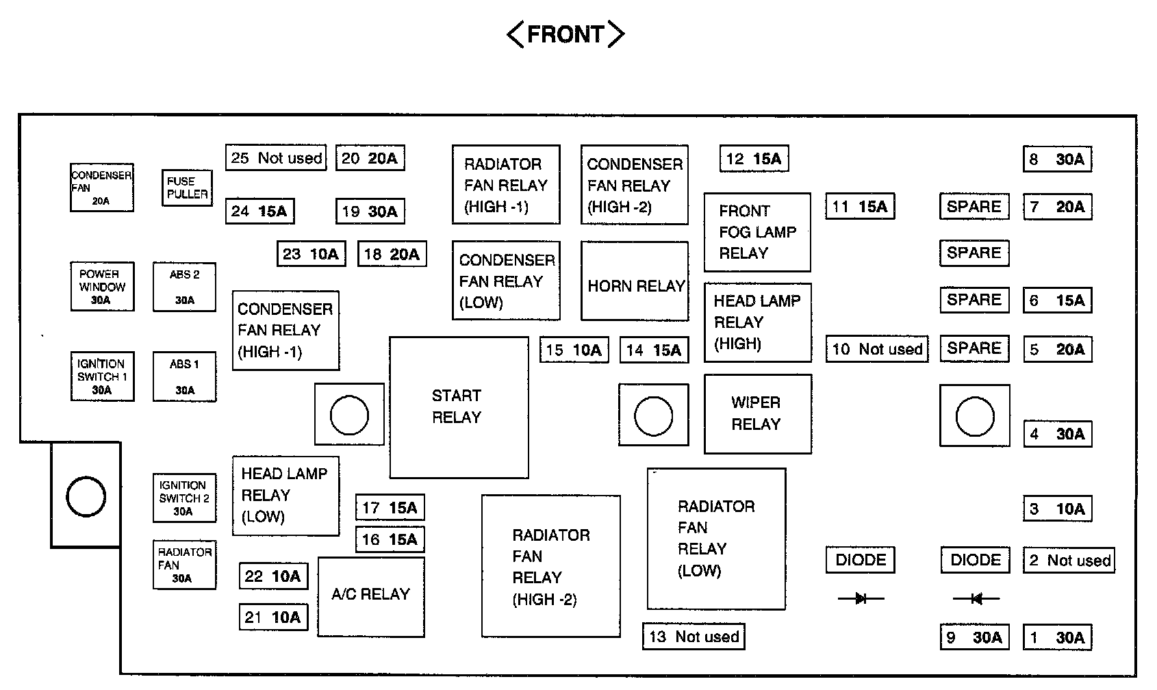
System Relay: Locations
Engine Compartment Junction Block Layout (Front):