Curiosii for ever!
: Car repair manuals for everyone.
Home
>>
Hyundai
>>
2004
>>
Elantra L4-2.0L
>>
Repair and Diagnosis
>>
Starting and Charging
>>
Starting System
>>
Clutch Switch
>>
Testing and Inspection
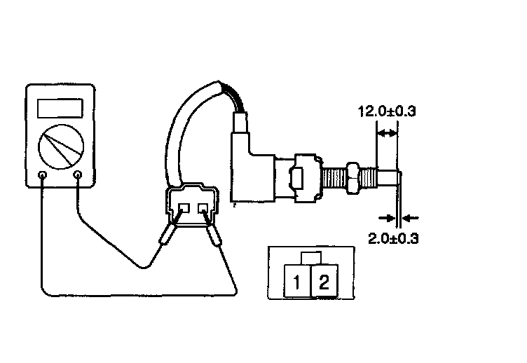
Clutch Switch: Testing and Inspection
IGNITION LOCK SWITCH INSPECTION
Remove the ignition lock switch and check for continuity between the terminals. If the continuity is not as specified, replace the switch.