Curiosii for ever!: Car repair manuals for everyone.

Replacement




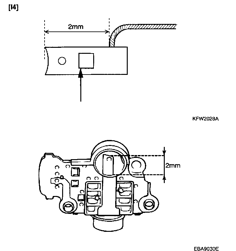
BRUSH REPLACEMENT
1. Measure the length of the brush protrusion shown in the illustration, and replace the brush if the measured value is below the limit value.

Limit: 2 mm (0.8 in.) or less

2. The brush can be removed if the solder of the brush lead wire is removed.
3. When installing a new brush, insert the brush into the holder, and then solder the lead wire.