Curiosii for ever!: Car repair manuals for everyone.

Without ABS

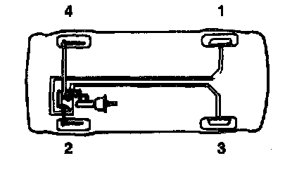
BLEEDING OF THE BRAKE SYSTEM





1. Remove the reservoir cap and fill the brake reservoir with brake fluid.

CAUTION: Do not allow brake fluid to remain on a painted surface. Wash It off Immediately.

NOTE: When bleeding by pressurized fluid, do not depress the brake pedal.

2. Connect a vinyl tube to the wheel cylinder bleeder plug, and Insert the other end of tube in a half full container of brake fluid.
3. Slowly pump the brake pedal several times.





4. While depressing the brake pedal fully, loosen the bleeder plug until fluid starts to run out. Then close the bleeder plug.
5. Repeat steps 3 and 4 until there are no more bubbles in the fluid.
6. Tighten the bleeder plug screw.
Bleeder screw tightening torque 7 - 9 Nm (70 - 90 kg-cm, 5.1 - 6.5 ft. lbs.)





7. Repeat the above procedure for each wheel in the sequence shown in the illustration.