Curiosii for ever!: Car repair manuals for everyone.

Ignition Coil: Testing and Inspection




CIRCUIT DIAGRAM







HARNESS INSPECTION PROCESSOR


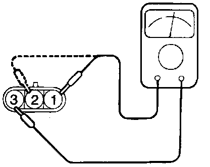
View: Test Connections:





MEASUREMENT OF THE PRIMARY COIL RESISTANCE

1. Measure the resistance between connector terminals 3 and 2 (the coils at the No.1 and No.4 cylinder sides) of the ignition coil, and between terminals 3 and 1 (the coils at the No.2 and No.3 cylinder sides).

Standard value: 0.45-0.55 Ohms

View: Test Connections:





MEASUREMENT OF THE SECONDARY COIL RESISTANCE

1. Measure the resistance between the high-voltage terminal for the No.1 and No.4 cylinders, and between the high-voltage terminals for the No.2 and No.3 cylinders.

Standard value:10.3 - 13.9 K Ohms

CAUTION: Be sure, when measuring the resistance of the secondary coil, to disconnect the connector of the ignition coil.