Curiosii for ever!
: Car repair manuals for everyone.
Home
>>
Hyundai
>>
1998
>>
Tiburon L4-1.8L
>>
Repair and Diagnosis
>>
Windows and Glass
>>
Windows
>>
Power Window Relay
>>
Testing and Inspection
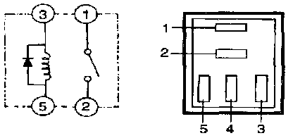
Power Window Relay: Testing and Inspection
1.
Check the continuity between the terminals "3" and "5" with an ohmmeter.
2.
Apply DC
12 V
to the terminal "3" and ground the terminal "5".
3.
Check for continuity between the terminals "1" and "2".