Curiosii for ever!: Car repair manuals for everyone.

Compressor Clutch Relay: Testing and Inspection




1. Remove the battery ground cable.
2. Remove the cover of relay box located in engine compartment.
3. Remove the relays from relay box.
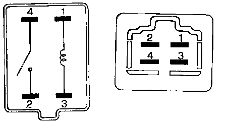
4. Check for continuity between the terminals.







check for continuity
If continuity is not as specified, replace the relay