Curiosii for ever!: Car repair manuals for everyone.

Without ABS






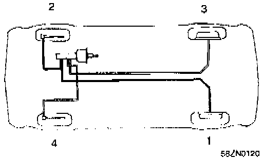
BLEEDING OF BRAKE SYSTEM
1. Remove the reservoir cap and fill the brake fluid to reservoir.

CAUTION: Do not allow fluid to remain on a painted surface. Wash it off immediately.

NOTE: When bleeding by pressurized fluid, do not depress the brake pedal.





2. Bleed each wheel in the sequence shown in the illustration.




3. Connect a vinyl tube to the wheel cylinder bleeder screw and insert the other end of tube in a half full container of brake fluid.
4. Slowly pump the brake pedal several times.
5. While depressing the brake pedal fully, loosen the bleeder screw until fluid starts to run out. Then close the bleeder screw.
6. Repeat the 3 and 4 step until there are no more bubbles in the fluid.
7. Tighten the bleeder plug screw.
Bleeder screw tightening torque:
Front: 7 - 13 Nm (5 - 10 ft. lbs.)
Rear: 8 - 20 Nm (6 - 15 ft. lbs.)