Curiosii for ever!
: Car repair manuals for everyone.
Home
>>
Hyundai
>>
1996
>>
Elantra L4-1.8L
>>
Repair and Diagnosis
>>
Power and Ground Distribution
>>
Relay Box
>>
Application and ID
>>
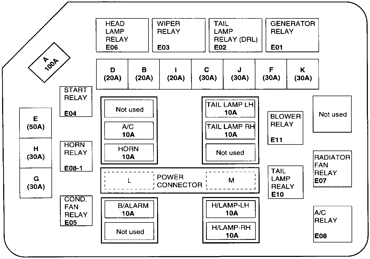
Engine Compartment Fuse/Relay Box
Engine Compartment Fuse/Relay Box
Engine Compartment Relay Box - Layout:
Fuse And Rely Information: