Curiosii for ever!: Car repair manuals for everyone.

A/C Signal: Testing and Inspection





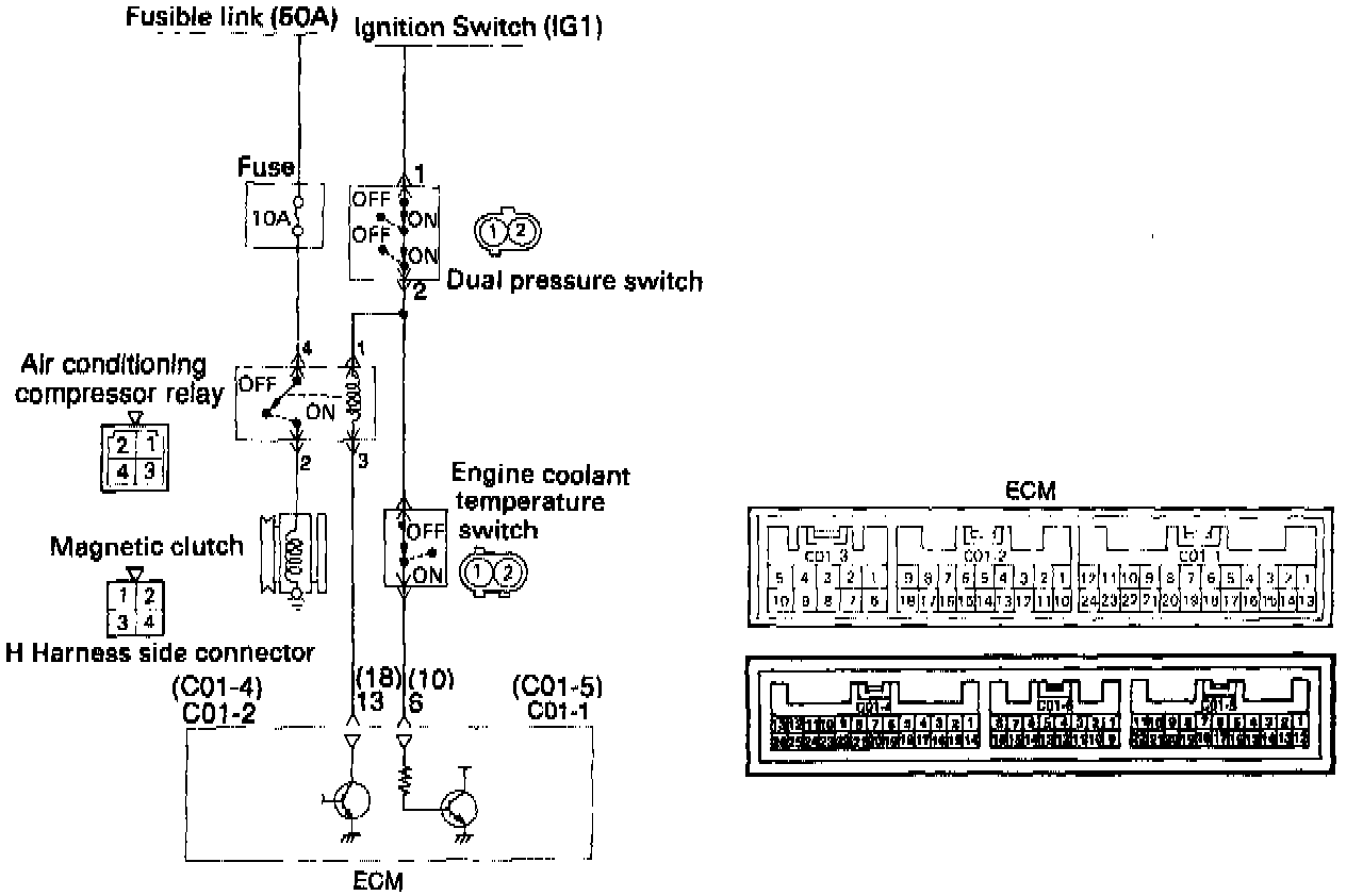
CIRCUIT DIAGRAM





USING SCAN TOOL





HARNESS INSPECTION

TROUBLESHOOTING HINTS
If the air compressor magnet clutch is not activated when the air conditioning switch is turned on during idling, faulty air conditioning control system is suspected.