Curiosii for ever!: Car repair manuals for everyone.

Crankshaft Position Sensor: Testing and Inspection





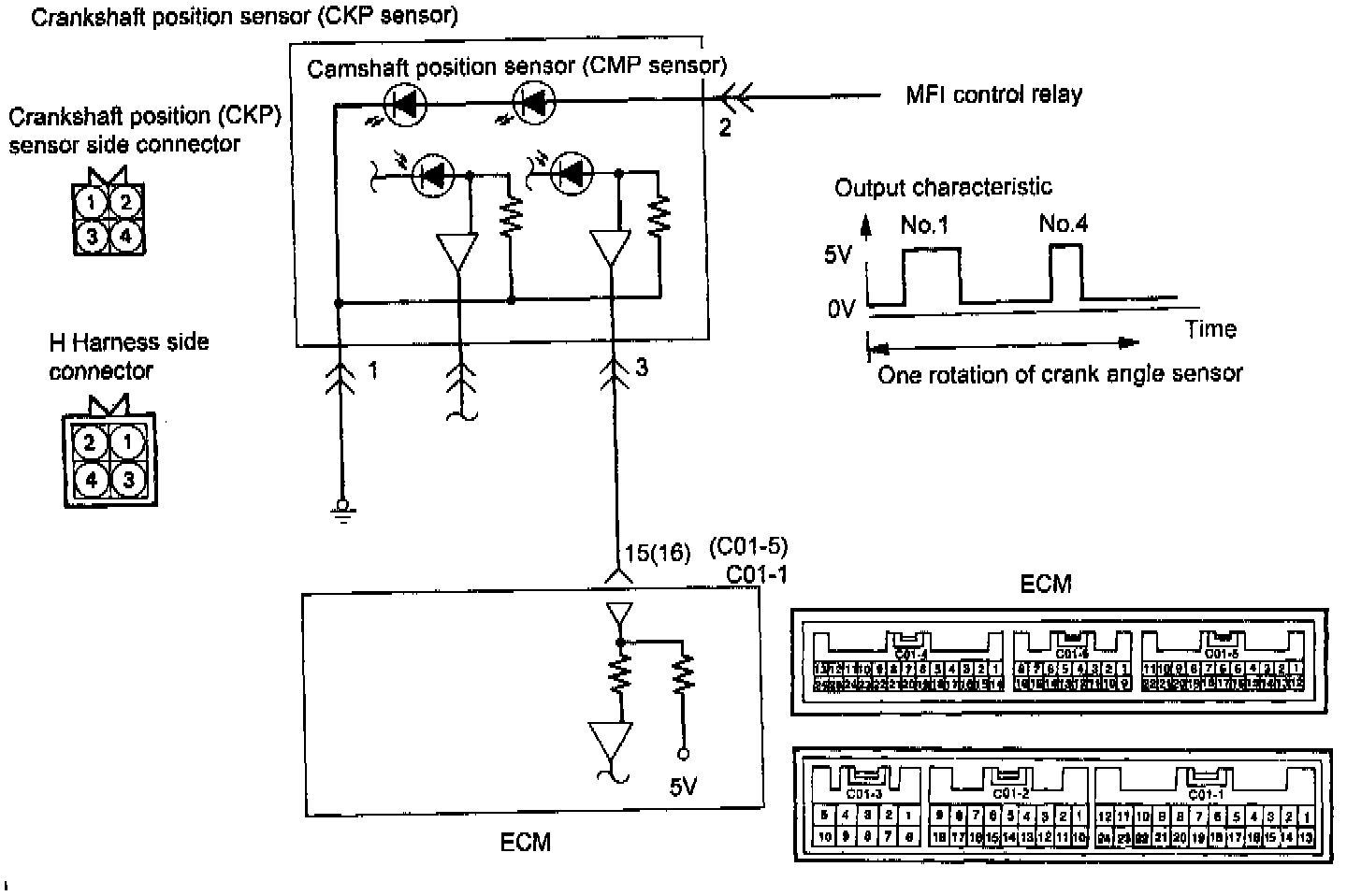
CIRCUIT DIAGRAM








USING SCAN TOOL











HARNESS INSPECTION PROCEDURE

TROUBLESHOOTING HINTS
1. If unexpected shocks are felt during driving or the engine stalls suddenly, shake the crankshaft position sensor harness. If this causes the engine to stall, check for poor contact of the sensor connector.
2. If the tachometer reads 0 rpm when the engine is cranked, check for faulty crank angle sensor, broken timing belt or ignition system problems.
3. If the engine can be run at idle even if the crank angle sensor reading is out of specification, check the followings:
1) Faulty engine coolant temperature sensor.
2) Faulty idle speed control motor.
3) Poorly adjusted reference idle speed.