Curiosii for ever!: Car repair manuals for everyone.

Ignition Coil: Testing and Inspection

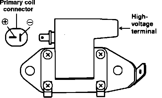
Ignition Coil Tests:





TESTING OF IGNITION COIL
1. Measurement of the primary coil.
Measure the resistance between the positive terminal and negative terminal of the ignition coil.
Standard value: 0.8+/- 0.08 ohm

2. Measurement of the secondary coil resistance.
Measure the resistance between the ignition coil's positive terminal and the high-voltage terminal.
Standard value: 12.1 +/- 1.21 kohm