Curiosii for ever!
: Car repair manuals for everyone.
Home
>>
Hyundai Truck
>>
2011
>>
Veracruz AWD V6-3.8L
>>
Repair and Diagnosis
>>
Transmission and Drivetrain
>>
Automatic Transmission/Transaxle
>>
Relays and Modules - A/T
>>
Control Module
>>
Testing and Inspection
Control Module: Testing and Inspection
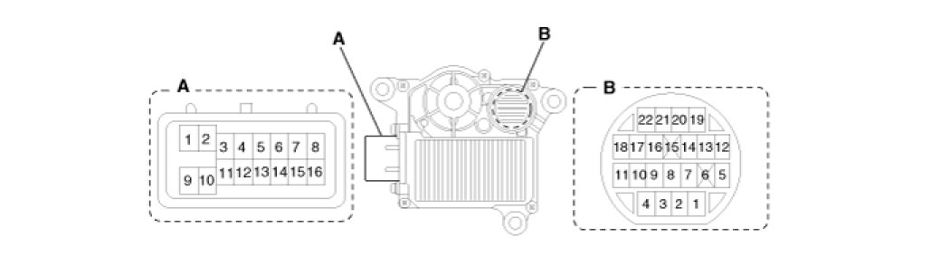
Information Of TCU Connector