Curiosii for ever!: Car repair manuals for everyone.

Differential Carrier: Service and Repair




Differential Carrier Assembly Replacement

Special Tools
* J 8001 - Dial Indicator Set
* J 8001-1 - Dial Indicator Clamp
* J 8001-2 - Dial Indicator Sleeve
* J 8001-3 - Dial Indicator
* J 3289-20 - Holding Fixture
* J 34178 - Spreader Gauge Adapter
* J 45222 - Axle Housing Spreader
* J-45222-10 - Axle Housing Spreader Adapters
* J-45935 - Holding Fixture

Removal Procedure

1. Remove the differential carrier assembly from the vehicle. Refer to Front Differential Assembly Replacement (Front Differential Assembly Replacement).




2. Remove the bolts retaining the front axle shaft housing tube to the front drive axle housing.
3. Remove the front axle shaft housing tube assembly.




4. Install the J 45935 - fixture (1) to the front drive axle housing using axle mounting bolts.
5. Insert the J 45935 - fixture (1) into the bench mounting fixture J 34178 - adapter (2).
6. Install the locking pin J 3289-22 (3), then tighten the set screw (4).




7. Remove the front axle housing cover bolts.
8. Remove the front axle housing cover and gasket.




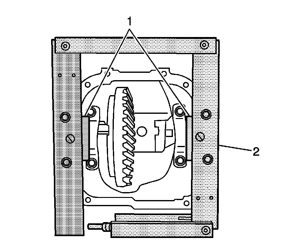
9. Install the J 45222-10 - adapters (1) to the front axle housing.
10. Install the J 45222 - spreaders (2) to the J 45222-10 - adapters.




11. Install the J 8001-1 - clamp (2), the J 8001-2 - sleeve (3), the J 34178 - adapter (4, 6), and the J 8001-3 - indicator (5).
12. Preload the J 8001-3 - indicator approximately 3/4 of a turn clockwise.
13. Rotate the indicator housing to align the indicator needle of the J 8001-3 - indicator (5) and the dial indicator face to ZERO.
14. Spread the axle housing by turning the clevis screw of the J 34178 - adapter while observing the J 8001-3 - indicator. Spread the housing just enough to remove the differential assembly. DO NOT spread the housing more than 1.02 mm (0.040 in).




15. Mark the bearing caps left and right then remove the bearing cap bolts and the bearing caps.

Note: Steps 16 and 18 are for those vehicles equipped with the electronic locking differential.

16. Remove the electronic locking differential coil bracket
17. Remove the electronic locking differential grommet by passing it into the differential case.
18. Relocate the electronic locking differential wire and grommet to the side so that it is not damaged during the differential case removal.





Warning

To prevent personal injury and/or component damage, support the differential case when removing the case from the axle housing. If the case is not supported, the differential case could fall and cause personal injury or damage to the differential case.

Caution: When removing the differential case from the axle housing, do not damage the cover gasket surface. If the cover gasket surface is damaged, lubricant may leak from the axle and cause premature failure of the axle assembly.

19. Using a pry bar and a block of wood, remove the differential case from the axle housing.

Note: Mark the cups and shims left and right and in order as necessary. Place the cups and the shims with the bearing caps.

20. Remove the bearing cups, the shims, and the spacers as necessary.
21. Remove the J 8001-1 - clamp, the J 8001-2 - sleeve, the J 34178 - adapter and the J 8001-3 - indicator.
22. Remove the J 45222 - spreader and the J 45222-10 - adapters.

Installation Procedure

1. Lubricate the differential side bearings with axle lubricant. Use the proper fluid. Refer to Fluid and Lubricant Recommendations (USA and Canada) (Maintenance).




2. Install the J 45222-10 - adapters (1) and the J 45222 - spreader (2) to the front axle housing.




3. Install the J 8001-1 - clamp (2), the J 8001-2 - sleeve (3) the J 34178 - adapter (4, 6), and the J 8001-3 - indicator (5).
4. Preload the J 8001-3 - indicator (5) approximately 3/4 of a turn clockwise.
5. Rotate the indicator housing to align the indicator needle of the J 8001-3 - indicator (5) and the dial indicator face to ZERO.
6. Spread the axle housing by turning the clevis screw of the J 34178 - adapter while observing the J 8001-3 - indicator. Spread the housing just enough to remove the differential assembly. DO NOT spread the housing more than 1.02 mm (0.040 in).

Note: Step 7 is for those vehicles equipped with the electronic locking differential.

7. Install the electronic locking differential coil wire and grommet in the differential housing.




8. Place the case with the bearing cups installed into the axle housing.

Note: Step 9 is for those vehicles equipped with the electronic locking differential.

9. Install the electronic locking differential coil wire bracket on the side bearing caps.

Note: Do not torque the bearing cap bolts at this time. Hand tighten the bearing cap bolts.

10. Install the bearing caps and bolts.
11. Adjust the differential side bearing preload. Refer to Drive Pinion and Ring Gear Replacement (Front Drive Axle).
12. Adjust the backlash. Refer to Backlash Inspection and Adjustment (Backlash Inspection and Adjustment).
13. Perform the gear tooth contact pattern check. Refer to Gear Tooth Contact Pattern Inspection (Gear Tooth Contact Pattern Inspection).

Caution: Refer to Fastener Caution (Fastener Caution).

14. Tighten the bearing cap bolts to 63 Nm (46 lb ft).
15. Install the front axle housing cover gasket.
16. Install the front axle housing cover and bolts 30 Nm (22 lb ft).
17. Install the front axle shaft housing tube assembly to the front drive axle housing.
18. Install the bolts retaining the front axle shaft housing tube assembly to the front drive axle housing 60 Nm (44 lb ft).
19. Remove the J 45935 - fixture from the front drive axle housing.
20. Install the differential carrier assembly to the vehicle. Refer to Front Differential Assembly Replacement (Front Differential Assembly Replacement).