Curiosii for ever!: Car repair manuals for everyone.

Disc Brake Hardware Replacement - Rear

DISC BRAKE HARDWARE REPLACEMENT - REAR

REMOVAL PROCEDURE

CAUTION: REFER TO BRAKE DUST CAUTION IN SERVICE PRECAUTIONS.




1. Raise and support the vehicle. Refer to Vehicle Lifting.
2. Remove the tire and wheel assembly.

NOTE: Support the brake caliper with heavy mechanic's wire, or equivalent, whenever it is separated from it's mount and the hydraulic flexible brake hose is still connected. Failure to support the caliper in this manner will cause the flexible brake hose to bear the weight of the caliper, which may cause damage to the brake hose and in turn may cause a brake fluid leak.

3. Remove the caliper from the mounting bracket and support the caliper with heavy mechanic's wire or equivalent. DO NOT disconnect the hydraulic brake flexible hose from the caliper.
4. Remove the disc brake pads from the disc brake caliper bracket.
5. Remove the disc brake pad retainers from the disc brake caliper bracket.




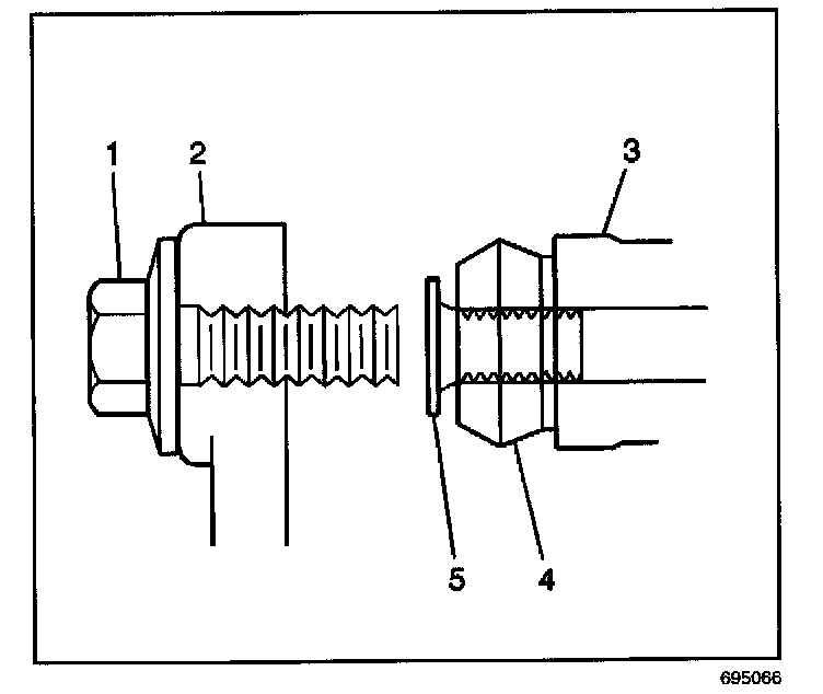
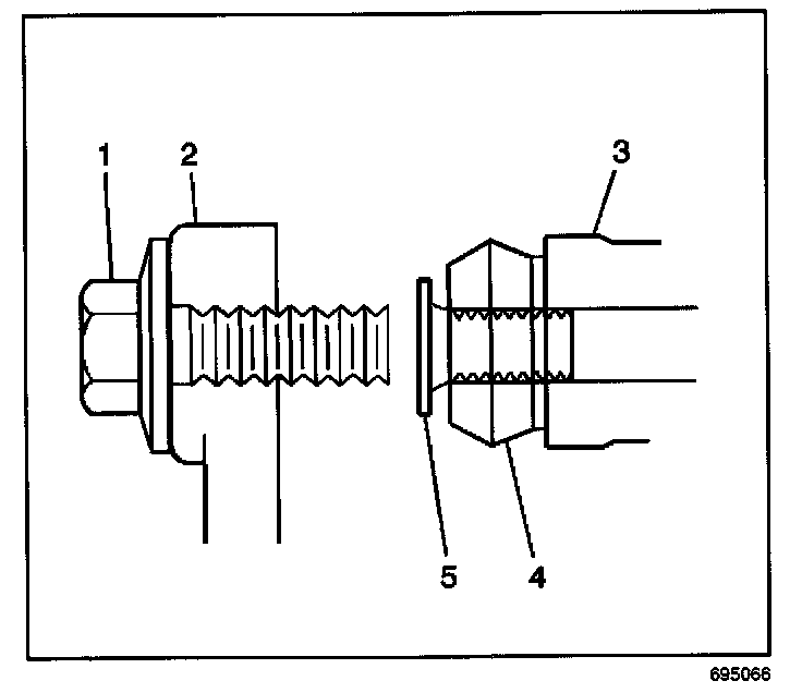
6. Remove the caliper pins (5) from the disc brake caliper mounting bracket (3).
7. Remove the caliper pin boots (4) from the disc brake caliper mounting bracket.
8. Inspect the disc brake hardware. Refer to Disc Brake Mounting and Hardware Inspection - Rear.

INSTALLATION PROCEDURE




1. Lubricate the brake caliper, bushings, bolts and seals with high temperature silicone brake lubricant.
2. Install the caliper pin boots (4) to the disc brake caliper mounting bracket.
3. Install the caliper pins (5) to the disc brake caliper mounting bracket (3).
4. Install the disc brake pad retainers to the disc brake caliper bracket.
5. Install the disc brake pads to the disc brake caliper bracket.
6. Install the disc brake caliper to the mounting bracket.
7. With the engine OFF, gradually apply the brake pedal approximately 2/3 of its travel distance.
8. Slowly release the brake pedal.
9. Wait 15 seconds, then repeat steps 7-8 until a firm brake pedal is obtained. This will properly seat the brake caliper pistons and brake pads.