Curiosii for ever!: Car repair manuals for everyone.

Electric Drive Systems: Description and Operation



Electric Powertrain System

General Information

Electric powertrain system uses 331 V high voltage circuits and an organic solution (lithium-ion) contained battery module. Improper handling may cause serious injury such as electrocution. When working on or around the electric powertrain system, pay attention to the following precautions.

Preparation Items
- Protective items (insulated gloves or rubber gloves, protective goggles, protective shoes)
- ABC fire extinguisher (available for both oil fires and electric fires)
- Shop towels (for wiping off the electrolyte)
- Insulating tape

Precautions when Working on High Voltage Areas

CAUTION: Be careful not to let the electrolyte get into your eyes or contact your skin. Doing so may cause loss of your eyesight or skin damage. If it electrolyte gets into your eyes or comes into contact with your skin, immediately flush with a large amount of water and seek medical attention.

- Wear insulated gloves or rubber gloves, protective goggles, and protective shoes whenever you inspect or service the electric powertrain system.
- Check the gloves for pin holes, tears, or other damage.
- As a safety warning, attach a sign saying, WORKING ON HIGH VOLTAGE PARTS. DO NOT TOUCH. to the steering wheel.
- The high voltage cables and their covers are identified by orange coloring. The caution labels are attached to high voltage and other related parts. When the system is energized, be careful not to touch these cables and parts without adequate protective gear.
- Be sure to shut off the electrical circuits and isolate the electric powertrain system and related parts before servicing the electric powertrain system. (See "Turning Off and ON Power to the High Voltage Circuit" below)
- Always use insulated tools when servicing, disassembling, or replacing items marked with in each procedure even if the battery module switch is OFF.
- Do not disassemble the battery module when doing the repair or replacement procedure.
- After disconnecting the high voltage terminals, busbars, etc., insulate the parts with insulating tape.
- Do not touch bare wires that could carry a high voltage. If you must touch them, put on insulated gloves, and measure the voltage between the body ground. If the voltage is above the 12 V battery voltage, insulate the part with insulating tape before doing any operation since to prevent shorting the battery module (331 V).
- When insulating a high voltage area with insulating tape, be sure to cover it thoroughly.
- Check around the battery module for leaks of the organic solution. If you find a leak, avoid touching it, but if you must touch it, put on rubber gloves and protective goggles.
- Keep sparks and flames away from the battery module, since the organic solution is flammable.
- Seal the replaced battery module in a P.P. (Polypropylene) bag, and keep it in a well-ventilated area away from sparks and flames.

Handling of a Vehicle Damaged in a Collision

CAUTION: Be careful not to let the electrolyte get into your eyes or contact your skin. Doing so may cause loss of your eyesight or skin damage. If it electrolyte gets into your eyes or comes into contact with your skin, immediately flush with a large amount of water and seek medical attention.

- Wear insulated gloves or rubber gloves, protective goggles, and protective shoes whenever you inspect or service the electric powertrain system.
- Do not touch bare wires that could carry a high voltage. If you must touch them, put on insulated gloves, and measure the voltage between the body ground. If the voltage is above the 12 V battery voltage, insulate the part with insulating tape before doing any operation since to prevent shorting the battery module (331 V).
- When insulating a high voltage area with insulating tape, be sure to cover it thoroughly.
- If fire breaks out in the vehicle, extinguish it with an ABC fire extinguisher. Extinguishing fire with a small amount of water may be dangerous. Discharge a large amount of water from a hydrant or wait for firefighters.
- If the vehicle is soaked in water, you may risk getting an electric shock. Do not touch the parts and the wires of the high voltage system. Extract the vehicle from the water completely before doing any operation.
- Check around the battery module for leaks of the organic solution. If you find a leak, avoid touching it, but if you must touch it, put on rubber gloves and protective goggles.
- Keep sparks and flames away from the battery module, since the organic solution is flammable.
- Seal the replaced battery module in a P.P. (Polypropylene) bag, and keep it in a well-ventilated area away from sparks and flames.

Other Precautions
- High temperature may damage the battery module. When drying paint in a heated paint booth, make sure the temperature does not exceed 150 °F (65 °C).

Turning Off and On Power to the High Voltage Circuit

The following procedure should be done before you work on or near any energized high voltage components. Follow the procedure exactly. Otherwise, you may be injured or may damage equipment.

Turning Off the Main Switch

1. Turn the power switch to LOCK (0), then remove the key from the power switch.
2. Remove the center console.
3. Remove the harness clamps (A) from the access panel (B), then remove the access panel from the floor.







4. Remove the main switch hole grommet (C) from the battery module.
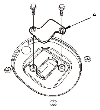
5. Remove the battery module main switch lid (A) from the battery module.







6. Turn the battery module switch (A) OFF.







7. Check that the indicator (C) is showing.
8. Wait at least 5 minutes to allow the capacitors to discharge.
9. Connect the HDS to the data link connector (DLC) (A) located under the driver's side of the dashboard.







10. Turn the power switch to ON (II).
11. Make sure the HDS communicates with the management ECU. If it doesn't, go to the DLC circuit troubleshooting.
12. Check the (VPIN_IPU (Triangle Symbols)) in the DATA LIST with the HDS. There should be less than 30 V.
13. Turn the power switch to LOCK (0).
14. Do the 12 V battery terminal disconnection procedure, then start the work.

Turning On the Main Switch

1. While pushing the part (A) of the battery module switch in the direction of the arrow, turn the battery module switch (B) ON.







2. Check that the indicator (C) is showing.
3. Install the battery module main switch lid (A).

NOTE: If the main switch is not turning on, the lid cannot be installed.







4. Install the main switch hole grommet (A) to the battery module.







5. Install the access panel (B) to the floor, the Install the harness clamp (C) to the access panel.
6. Install the center console.
7. Do the 12 V battery terminal reconnection procedure.

Disconnecting and Reconnecting the Connector Lever-Locked Connector

1. Raise the lever (A) while pushing the tab (B) in the direction of the arrow.







Slider-Locked Connector

1. Move the slider (A) in the direction of the arrow, then disconnect the connector (B) while pushing the tab (C).







Disconnecting Battery Module Connector

1. Remove the front floor undercover.
2. Remove the interlock connector cover (A), then disconnect the interlock connector (B).







3. Remove the interlock bracket (A), then disconnect the power cable connectors (B) from the battery module.







Reconnecting Battery Module Connector

1. Connect the power cable connectors (A) to the battery module, then interlock install the bracket (B).







2. Connect the interlock connector (A), then install the interlock connector cover (B).







3. Install the front floor undercover.