Curiosii for ever!
: Car repair manuals for everyone.
Home
>>
Honda
>>
2012
>>
Insight L4-1.3L Hybrid
>>
Repair and Diagnosis
>>
Relays and Modules
>>
Relays and Modules - Power and Ground Distribution
>>
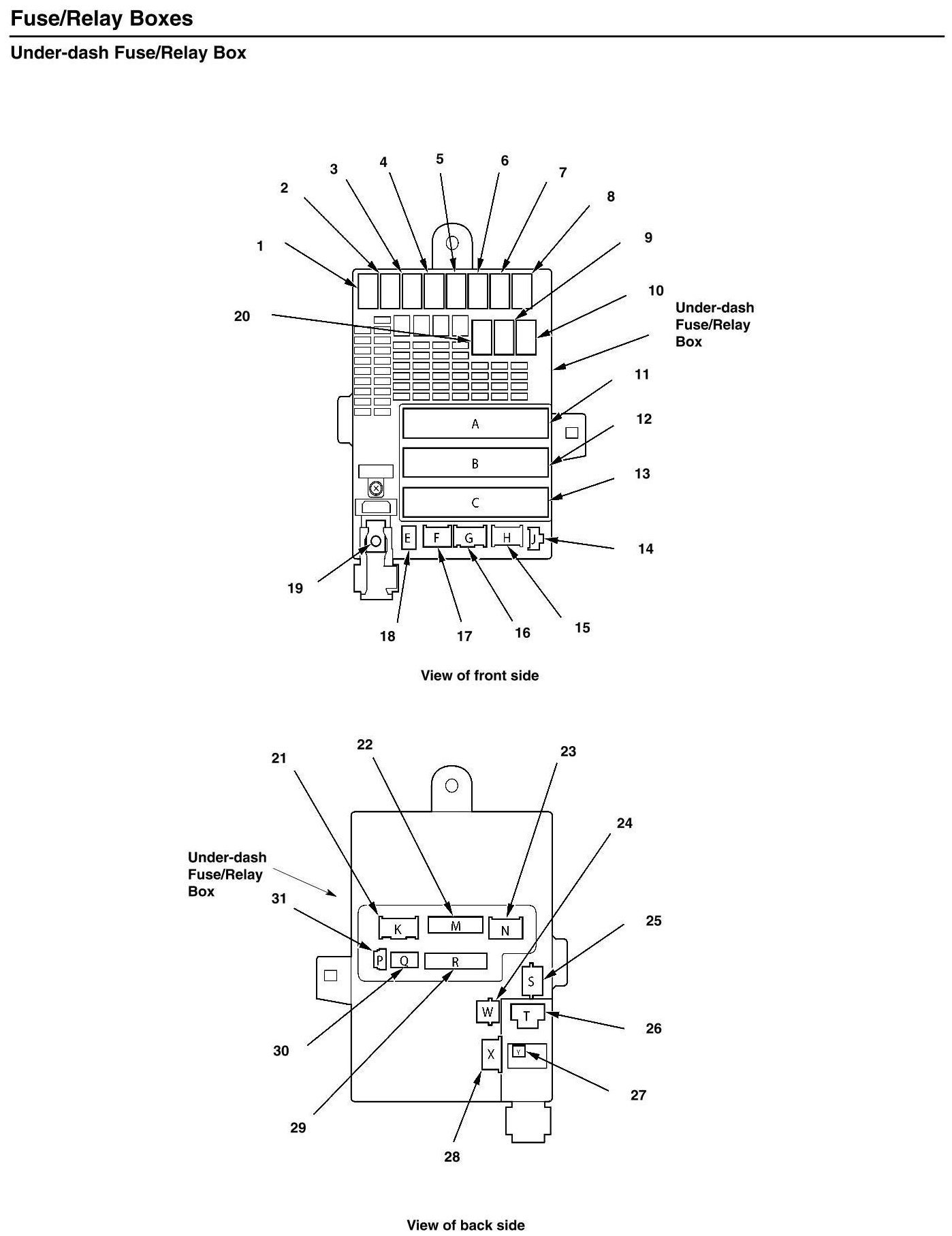
Relay Box
>>
Application and ID
>>
Under-dash Fuse/Relay Box - Connector-to-Fuse/Relay Box Index
Under-dash Fuse/Relay Box - Connector-to-Fuse/Relay Box Index