Curiosii for ever!: Car repair manuals for everyone.

Traction Control Switch: Service and Repair




VSA Off Switch Test/Replacement

NOTE: If the low tire pressure indicator turns ON, the VSA cannot be turned OFF. Check the tire pressure first.

1. Turn the ignition switch to LOCK (0).

2. Remove the driver's dashboard lower cover Driver's Dashboard Lower Cover Removal/Installation.

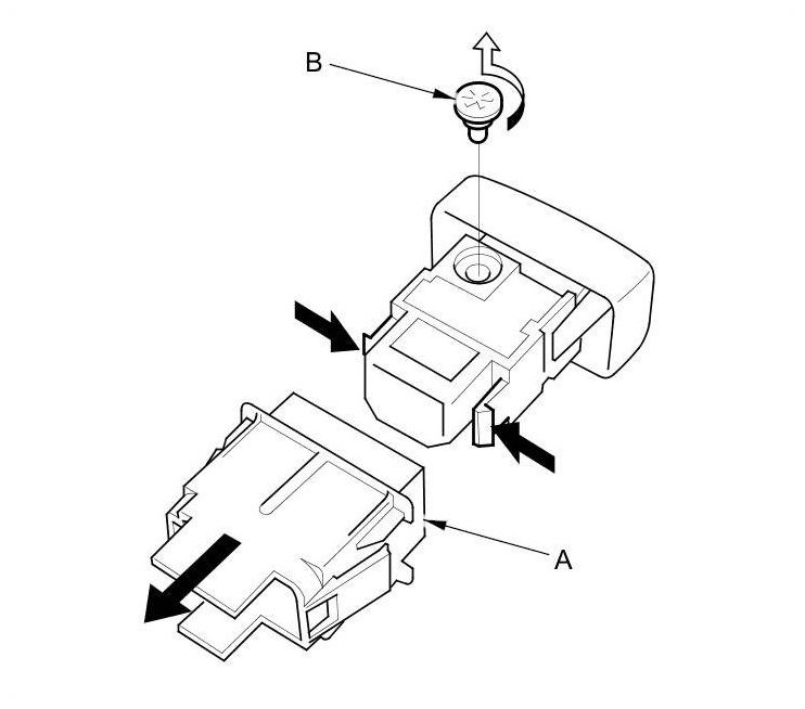
3. Push out the VSA OFF switch (A) from the driver's dashboard lower cover.






4. On the switch side, check for continuity between VSA OFF switch 5P connector terminals No. 1 and No. 2. There should be continuity when the button is released, and no continuity when the button is pressed.






5. On the switch side, check for continuity between VSA OFF switch 5P connector terminals No. 4 and No. 5. There should be continuity at all times.






6. If the continuity is not as specified, remove the cover (A), and replace the bulb (B).





7. Install the VSA OFF switch in the reverse order of removal.