Curiosii for ever!: Car repair manuals for everyone.

Seat Cover: Service and Repair




Front Seat-Back Cover/Pad Replacement

Special Tools Required

- KTC Trim Tool Set SOJATP2014
*

SRS components are located in this area. Review the SRS component locations Locations and the precautions and procedures Service and Repair before doing repairs or service.

Do the OPDS sensor initialization after front passenger's seat-back cover replacement.

NOTE:

- Put on gloves to protect your hands.
- Take care not to tear or damage the seat covers.
- On the passenger's seat, do not touch the OPDS sensor in the seat-back pad, and keep it away from oil. Oil can corrode the sensor causing it to fail.
- Use the appropriate tool from the KTC trim tool set to avoid damage when removing components.

1. Remove the front seat Front Seat Removal/Installation.

2. For some driver's seats: Remove the front seat armrest Front Seat Armrest Replacement.

3. From under the seat cushion, pull the outside portion of the seat cushion cover (A) back, and release the Velcro fastener (B). The driver's seat is shown; the passenger's seat is similar.






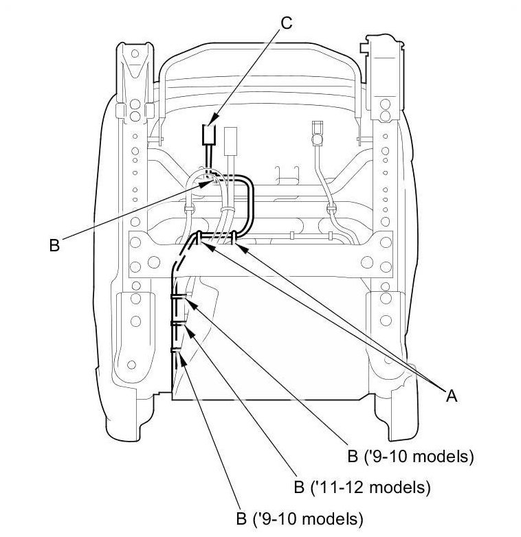
4. From under the seat cushion, remove the wire ties (A), and detach the wire harness clip (B) and the side airbag connector (C), then pull the wire harness out from under the seat cushion.

Driver's seat





Passenger's seat





5. From behind the seat-back, release the hook strip (A), and unzip the seat-cover (B).






6. Pull back the seat-back cover (A), then release the hook strips (B) from the seat-back frame.






7. Release airbag attachment wire A and airbag attachment wire B from the seat-back frame (C).






8. Passenger's seat: Remove the ODS unit cover (A).

1. Turn over the seat-back cover (B) and the pad (C) as needed.

2. Release the cover from the lower hooks (D).

3. Pull the cover upward to release it from the upper hook (E).





9. Passenger's seat: Disconnect the ODS unit harness connector (F) and the OPDS sensor connectors (G).

10. Passenger's seat: Detach the harness clips (A) fastening the OPDS sensor harnesses (B) and the ODS unit harness (C).






11. Passenger's seat: Pull out the side airbag harness (A) and the ODS unit harness (B) through the holes (C) in the seat-back pad (D) and the seat-back cover (E).






12. Driver's seat: Pull out the side airbag harness (A) through the harness holes (B) in the seat-back pad (C) and the seat-back cover (D).






13. Pinch the tabs (A) on the end of the head restraint guides (B), and remove the guides from the seat-back.






14. Remove the seat-back cover/pad (A) from the seat-back frame (B).






15. Remove airbag attachment wire A from the outside reinforcing cloth (C), and remove airbag attachment wire B from the inside reinforcing cloth (D).






16. Install the cover in the reverse order of removal, and note these items:

- Before installing the seat-back cover/pad, make sure airbag attachment wires A and B are installed correctly in the reinforcing cloths (C).
- Reinstall airbag attachment wires A and B securely.
- Use only original Honda replacement seat-back cover/pads.
- Make sure the side airbag harness and the ODS unit harness (passenger's seat) are routed properly.