Curiosii for ever!: Car repair manuals for everyone.

Power Mirror Motor: Service and Repair




Power Mirror Actuator Replacement

Removal

1. Remove these items:

- Mirror holder Mirror Holder Replacement

- Power mirror Power Mirror Replacement

2. Record the power mirror connector terminals location and the wire harness colors.

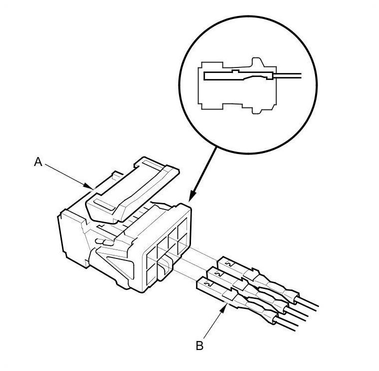
3. Disassemble the power mirror connector (A), and remove the terminals (B) from the connector.






4. Remove the gasket (A) and the cover (B).





5. Remove the three screws, and separate the mirror housing (C) from the bracket (D).

6. Remove the four screws, and separate the power mirror actuator (A) from the housing (B).






Installation

1. Route the wire harness of the new actuator through the hole in the bracket and gasket, then install the parts in the reverse order of removal.

2. Insert the new actuator terminals into the connector in the original arrangement.






3. Apply tape in the areas shown (A), to seal the wire harness.





4. Reassemble in the reverse order of disassembly.

NOTE: Be careful not to break the mirror when reinstalling it to the actuator.

5. Reinstall the mirror assembly on the door.

6. Operate the power mirror to ensure smooth operation.