Curiosii for ever!: Car repair manuals for everyone.

Front Fender Fairing Replacement




Front Fender Fairing Replacement

NOTE:

- Put on gloves to protect your hands.
- Take care not to scratch the body.

1. Remove the front inner fender as needed Front Inner Fender Replacement.

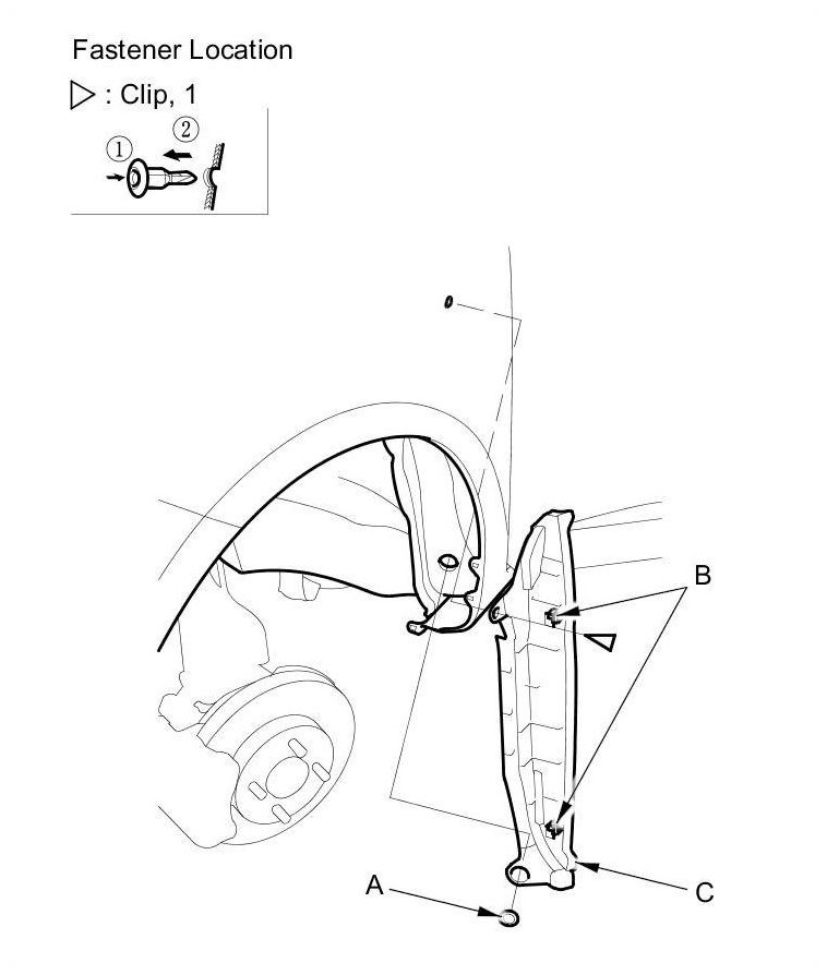
2. From the wheel arch, remove the clip and the maintenance plug (A).





3. Release the hooks (B) of the front fender fairing (C) from the holes in the front fender, and pull the fender fairing out, then remove it.

4. Install the fender fairing in the reverse order of removal, and note these items:

- If the clips are damaged or stress-whitened, replace them with new ones.
- Before installing the clips, make sure the hooks (A) of the front fender fairing (B) are installed into the holes (C) in the front fender securely.
- Push the clip into place securely.