Curiosii for ever!: Car repair manuals for everyone.

Front Passenger's Power Window Switch Input Test




Front Passenger's Power Window Switch Input Test

NOTE: Before testing, troubleshoot the multiplex integrated control unit first, using B-CAN System Diagnosis Test Mode A Troubleshooting - B-CAN System Diagnosis Test Mode A.

1. Turn the ignition switch to LOCK (0).

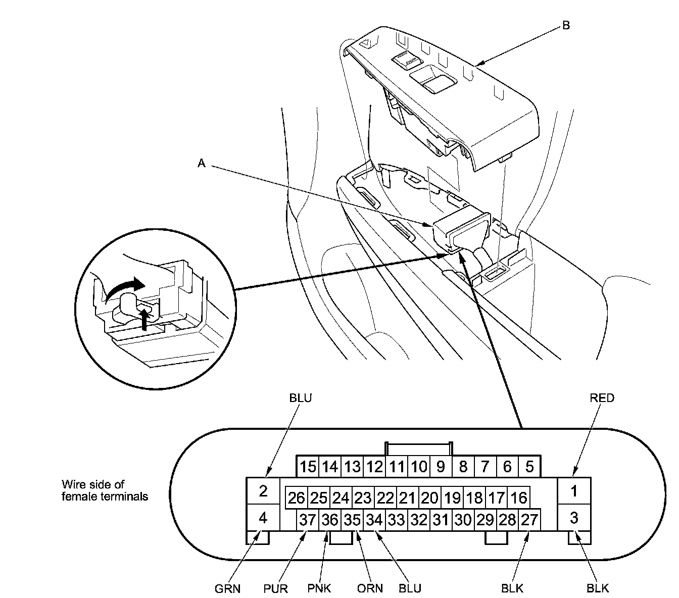
2. Open and close the driver's door, then remove the front passenger's power window switch Front Passenger's Power Window Switch Replacement.

3. Disconnect the 37P connector (A) from the front passenger's power window switch (B).





4. Inspect the connector and socket terminals to be sure they are all making good contact.

- If the terminals are bent, loose or corroded, repair them as necessary, and recheck the system.
- If the terminals look OK, go to step 6.

5. With the connector still disconnected, do the following input tests:

- If any test indicates a problem, find and correct the cause, then recheck the system.
- If all the input tests prove OK, go to step 6.





6. Reconnect the connector to the front passenger's power window switch, turn the ignition switch to ON (II), and do the following input tests:

- If any test indicates a problem, find and correct the cause, then recheck the system.
- If all the input tests prove OK, the control unit is faulty; replace the front passenger's power window switch Front Passenger's Power Window Switch Replacement.

NOTE: After replacing the power window master switch, reset the power window control unit Testing and Inspection.