Curiosii for ever!: Car repair manuals for everyone.

Solar Sensor: Service and Repair




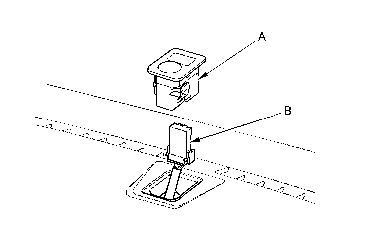
Sunlight Sensor Replacement

1. Pull out the sunlight sensor (A) from the dashboard, and disconnect the connector (B), and remove the sunlight sensor. Be careful not to damage the sensor and the dashboard.






2. Install the sensor in the reverse order of removal.