Curiosii for ever!: Car repair manuals for everyone.

Air Bag Control Module: Service and Repair




SRS Unit Replacement

Removal

1. Do the battery terminal disconnection procedure Procedures, then wait at least 3 minutes before starting work.

2. Remove the driver's and passenger's dashboard center lower covers Dashboard Center Lower Cover Removal / Installation.

3. Remove the clips (A), then remove the left and right heater ducts (B, C).






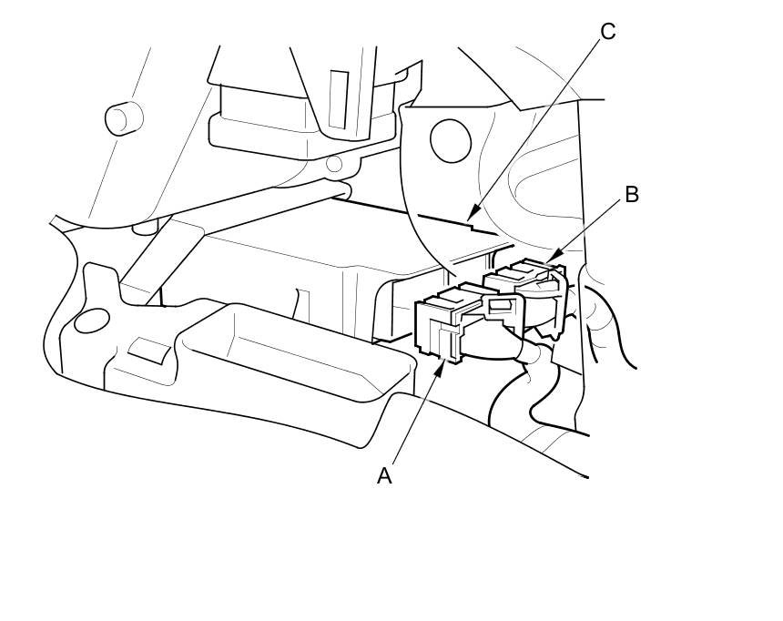
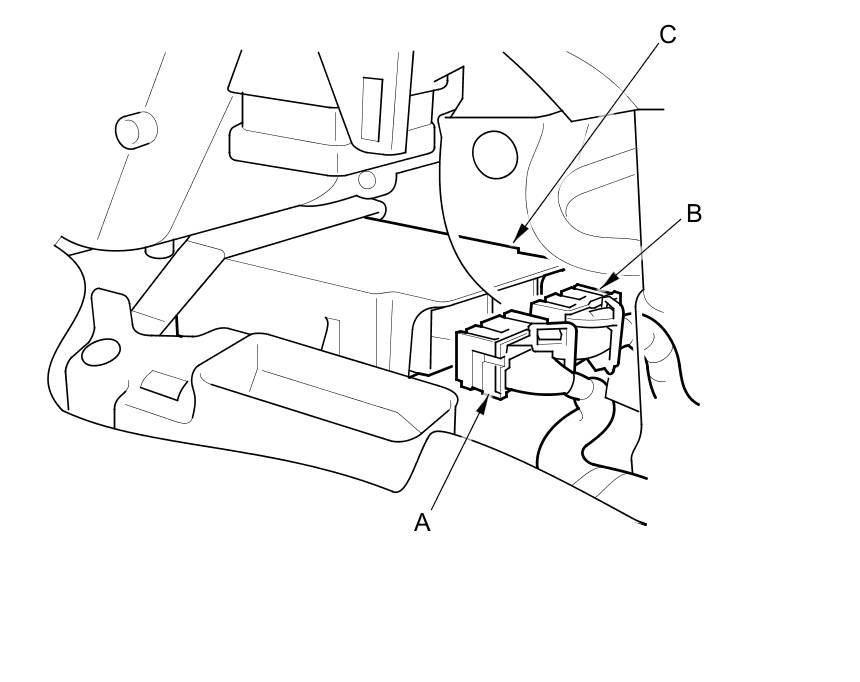
4. Disconnect SRS unit connectors A (39P) and B (39P) from the SRS unit (C).

NOTE: The SRS unit connectors have lever locks. Release the locks before disconnecting the connectors.






5. Remove the TORX bolts (A) using a TORX T30 bit.






6. Remove the TORX bolt (A) using a TORX T30 bit.





7. Remove the SRS unit (B) from the driver's side.

Installation

1. Install the SRS unit (A) with the new TORX bolt (B) using a TORX T30 bit.

NOTE: Be sure the SRS unit is sitting squarely against it's bracket before torquing the TORX bolt.






2. Install the new TORX bolts (A) using a TORX T30 bit.






3. Connect the SRS connectors A (39P) and B (39P) to the SRS unit (C); push them into position until they click and the lever locks are fully secured.






4. Install the left and right heater joint ducts (A, B), then install the clips (C).





5. Do the battery terminal reconnection procedure Procedures.

6. Make sure the SRS unit has the latest software. If it does not have the latest, update the software in the SRS unit Testing and Inspection.

7. Do the ODS unit initialization Programming and Relearning.

8. Check the operation of the ODS unit with the HDS Component Tests and General Diagnostics.

9. Confirm proper SRS operation: Turn the ignition switch to ON (II), and check that the SRS indicator comes on for about 6 seconds and then goes off.

10. Reinstall all removed parts.