Curiosii for ever!: Car repair manuals for everyone.

Variable Valve Timing Actuator: Service and Repair






VTC Actuator Removal and Installation





Removal

1. Wiper Arm Assembly





NOTE: Set the wiper arms to the auto-stop position before removal.

1. Remove the cowl top wiper covers (A).

2. Remove the wiper arms (B).

2. Both Side Cowl Covers





1. Remove the side cowl cover (A).

2. The left side is shown; repeat on the right side.

3. Center Cowl Cover





1. Remove the center cowl cover (A).

2. Disconnect the windshield washer tube (B).

3. If necessary, remove the hood rear seal (C).

4. Under Cowl Panel





1. Remove the under cowl panel (A).

5. Engine Cover





1. Remove the engine cover.

6. Ignition Coil Cover





1. Remove the ignition coil cover.

7. Ignition Coil





1. Remove the ignition coils.

8. Cylinder Head Cover





1. Remove the cylinder head cover.

9. VTC Actuator Mounting Bolt - Loosen





1. Hold the camshaft with an open-end wrench, then loosen the VTC actuator mounting bolt.

NOTE: Do not remove the VTC actuator and the exhaust camshaft sprocket mounting bolts.

10. Set The No.1 Piston at Top Dead Center (With Cam Chain Case/Oil Pump)





1. Set the No. 1 piston at top dead center (TDC). The punch mark (A) on the VTC actuator and the punch mark (B) on the exhaust camshaft sprocket should be at the top. Align the TDC marks (C) on the VTC actuator and the exhaust camshaft sprocket.

11. Chain Case Cover





1. Remove the chain case cover.

12. Cam Chain Auto-Tensioner - Lock





1. Rotate the crankshaft counterclockwise to align the holes on the lock (A) and the auto-tensioner (B), then insert a 1.2 mm (3/64 in) diameter pin (C) into the holes. Turn the crankshaft clockwise to secure the pin.

NOTE: If the holes in the lock and the auto-tensioner do not align, continue to rotating the crankshaft counterclockwise until the holes align, then install the pin.

2. Turn the crankshaft clockwise to secure the pin and the TDC on the No. 1 cylinder.

13. Camshaft Holder





1. Loosen the rocker arm and the adjusting screws (A).





2. Remove the camshaft holder bolts. To prevent damaging the camshafts, loosen the bolts, in sequence, two turns at a time.





3. Remove cam chain guide B , the camshaft holders (A).

14. VTC Actuator





1. Carefully tip up the intake camshaft on the transmission side of the engine until there is enough slack in the chain to lift the chain off of the VTC actuator's teeth.

2. Remove the intake camshaft while keeping some tension on the cam chain.

3. Secure the cam chain to the A/C compressor suction hose or the power steering hose with a wire tie to prevent the chain from falling down into the chain case.





4. Remove the VTC actuator.

Installation

1. VTC Actuator





1. Install the VTC actuator.

2. Apply new engine oil to the threads of the VTC actuator mounting bolts, then loosely install them.





3. Remove the wire tie while keeping light tension on the cam chain.

4. Slide the exhaust camshaft in at an angle to allow the cam chain to slip over the VTC actuator's teeth.





5. Set the No. 1 piston at top dead center (TDC). The punch mark (A) on the VTC actuator and the punch mark (B) on the exhaust camshaft sprocket should be at the top. Align the TDC marks (C) on the VTC actuator and the exhaust camshaft sprocket.

6. Apply new engine oil to the camshaft journals and lobes on both cams.

2. Camshaft Holder





1. Set the camshaft holders (A) and cam chain guide B in place.





2. Tighten the bolts to the specified torque.








3. VTC Actuator Mounting Bolt - Tighten





1. Hold the camshaft with an open-end wrench, then tighten the bolt.








4. Cam Chain Auto-Tensioner - Unlock





1. Remove the 1.2 mm (3/64 in) diameter pin from the auto-tensioner.

5. Chain Case Cover





1. Remove all of the old liquid gasket from the chain case cover mating surfaces, the bolts, and the bolt holes.

2. Clean and dry the chain case cover mating surfaces.

3. Apply liquid gasket (P/N 08718-0004 or 08718-0009) to the chain case mating surface of the chain case cover and to the inside edge of the threaded bolt holes. Install the component within 5 minutes of applying the liquid gasket.

NOTE:
* Apply a 2.5 mm (0.098 in) diameter bead of liquid gasket along the broken line (A).
* If too much time has passed after applying the liquid gasket, remove the old liquid gasket and residue, then reapply new liquid gasket.





4. Install the chain case cover.

NOTE:
* Wait at least 30 minutes before filling the engine with oil.
* Do not run the engine for at least 3 hours after installing the chain case cover.

6. Valve Clearance - Adjustment





1. Set the No. 1 piston at top dead center (TDC). The punch mark (A) on the VTC actuator and the punch mark (B) on the exhaust camshaft sprocket should be at the top. Align the TDC marks (C) on the VTC actuator and the exhaust camshaft sprocket.

2. Select the correct feeler gauge for the valve clearance you are going to check.
















3. Insert the feeler gauge (A) between the adjusting screw (B) and the end of the valve stem on the No.1 cylinder, and slide it back and forth; you should feel a slight amount of drag.





4. If you feel too much or too little drag, loosen the locknut with the locknut wrench and the adjuster, and turn the adjusting screw until the drag on the feeler gauge is correct.

5. Tighten the locknut to the specified torque, and recheck the clearance. Repeat the adjustment if necessary.












6. Rotate the crankshaft 180 ° clockwise (camshaft pulley turns 90 °).

7. Check and, if necessary, adjust the valve clearance on the No. 3 cylinder.





8. Rotate the crankshaft 180 ° clockwise (camshaft pulley turns 90 °).

9. Check and, if necessary, adjust the valve clearance on the No. 4 cylinder.





10. Rotate the crankshaft 180 ° clockwise (camshaft pulley turns 90 °).

11. Check and, if necessary, adjust the valve clearance on the No. 2 cylinder.

7. Cylinder Head Cover





1. Check the spark plug seals for damage. If any seals are damaged, replace them.

2. Thoroughly clean the head cover gasket and the groove.

NOTE: Check and, if necessary, replace the head cover gasket.

3. Install the head cover gasket (A) in the groove of the cylinder head cover (B). Make sure the head cover gasket is seated securely.





4. Remove all of the old liquid gasket from the chain case and the No.5 rocker shaft holder.

5. Clean the head cover contacting surfaces with a shop towel.

6. Apply liquid gasket, (P/N 08718-0004 or 08718-0009) on the chain case and the No. 5 rocker shaft holder mating areas (A). Install the component within 5 minutes of applying the liquid gasket.

NOTE: If too much time has passed after applying the liquid gasket, remove the old liquid gasket and residue, then reapply new liquid gasket.





7. Set the spark plug seals (A) on the spark plug tubes. Place the cylinder head cover (B) on the cylinder head, then slide the cover slightly back and forth to seat the head cover gasket.

8. Inspect the spark plug seals for damage.

9. Inspect the cover washers (C). Replace any washer that is damaged or deteriorated.





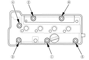
10. Tighten the bolts in two steps. In the final step torque bolts, in sequence, to 12 Nm (1.2 kgfm, 9 lbfft).

NOTE:
* Wait at least 30 minutes before filling the engine with oil.
* Do not run the engine for at least 3 hours after installing the head cover.

8. Ignition Coil





1. Install the ignition coils.

9. Ignition Coil Cover





1. Install the ignition coil cover.

10. Engine Cover





1. Install the engine cover.

11. Under Cowl Panel





1. Install the under cowl panel (A).

12. Center Cowl Cover





1. If necessary, install the hood rear seal (A).

2. Connect the windshield washer tube (B).

3. Install the center cowl cover (C).

13. Both Side Cowl Covers





1. Install the side cowl cover (A).

2. The left side is shown; repeat on the right side.

14. Wiper Arm Assembly





NOTE: Set the wiper arms to the auto-stop position before installation.

1. Install the wiper arms (A).

2. Install the cowl top wiper covers (B).