Curiosii for ever!: Car repair manuals for everyone.

Part Two




Piston, Ring, Pin, and Connecting Rod Removal and Installation

15. Set The Crankshaft To Top Dead Center





1. Set the crankshaft to top dead center (TDC). Align the TDC mark (A) on the crankshaft sprocket with the pointer (B) on the engine block.

16. Cylinder Head Assembly





1. Install a new coolant separator (A) in the engine block whenever the engine block is replaced.





2. Clean the cylinder head and the engine block surface.

3. Install the new cylinder head gasket (A) and the dowel pins (B) on the engine block. Always use a new cylinder head gasket.

4. Install the cylinder head on the engine block.





5. Measure the diameter of each cylinder head bolt at point A and point B.

6. If either diameter is less than 10.6 mm (0.417 in), replace the cylinder head bolt.

7. Apply new engine oil to the threads and under the bolt heads of all cylinder head bolts.





8. Torque the cylinder head bolts in sequence to 39 Nm (4.0 kgfm, 29 lbfft). Use a beam-type torque wrench. When using a preset click-type torque wrench, be sure to tighten slowly and do not overtighten. If a bolt makes any noise while you are torquing it, loosen the bolt and retighten it from the first step.





9. After torquing, tighten all cylinder head bolts in two steps (90 ° per step) using the sequence shown in step 8. If you are using a new cylinder head bolt, tighten the bolt an extra 90 °.

NOTE: Remove the cylinder head bolt if you tightened it beyond the specified angle, and go back to step 6 of the procedure. Do not loosen it back to the specified angle.

17. Rocker Arm Assembly





1. Clean and dry the No. 5 rocker shaft holder mating surface.

2. Apply liquid gasket (P/N 08718-0004 or 08718-0009) to the cylinder head mating surface of the No. 5 rocker shaft holder and to the inside edge of the threaded bolt holes. Install the component within 5 minutes of applying the liquid gasket.

NOTE:
* Apply a 2.5 mm (0.098 in) diameter bead of liquid gasket along the broken line (A).
* If too much time has passed after applying the liquid gasket, remove the old liquid gasket and residue, then reapply new liquid gasket.





3. Install the lost motion assemblies (A) in the cylinder head.

NOTE: Apply new engine oil to the lost motion assembly.

4. Insert the bolts (B) into the rocker shaft holder, then install the rocker arm assembly (C) on the cylinder head.

5. Remove the bolts from the rocker shaft holder.

18. Camshaft





1. Make sure the punch marks on the VTC actuator and the exhaust camshaft sprocket are facing up, then set the camshafts (A) in the holder. Apply new engine oil to the camshaft journals and lobes.

19. Camshaft Holder





1. Set the camshaft holders (A) and cam chain guide B in place.





2. Tighten the bolts to the specified torque.








20. Cam Chain





1. To hold the intake camshaft, insert a camshaft lock pin set (C) into the maintenance hole in CMP pulse plate A and through the No. 5 rocker shaft holder (D).

2. To hold the exhaust camshaft, insert a camshaft lock pin set (C) into the maintenance hole in CMP pulse plate B and through the No. 5 rocker shaft holder (D).





3. Install the cam chain on the crankshaft sprocket with the colored link plate (A) aligned with the mark (B) on the crankshaft sprocket.





4. Install the cam chain on the VTC actuator and the exhaust camshaft sprocket with the punch marks (A) aligned with the center of the two colored link plates (B).

21. Cam Chain Tensioner Arm and Cam Chain Guide





1. Install cam chain guide A and the tensioner arm (B).





2. Install cam chain guide B.

22. Cam Chain Auto-Tensioner





1. Compress the auto-tensioner when replacing the cam chain. Remove the pin (A) from the auto-tensioner that was installed during removal. Turn the plate (B) counterclockwise, to release the lock, then press the rod (C), and set the first cam (D) to the first edge of the rack (E). Insert the 1.2 mm (3/64 in) diameter pin back into the holes (F).

NOTE: If the chain tensioner is not set up as described, the tensioner will be damaged.





2. Install the auto-tensioner.





3. Remove the pin from the auto-tensioner.





4. Remove the camshaft lock pin set.

23. Cam Chain Case





1. Check the chain case oil seal for damage. If the oil seal is damaged, replace the chain case oil seal.

2. Remove the old liquid gasket from the chain case mating surfaces, the bolts, and the bolt holes.

3. Clean and dry the chain case mating surfaces.

4. Apply liquid gasket (P/N 08718-0004 or 08718-0009) to the engine block mating surface of the chain case and to the inside edge of the threaded bolt holes. Install the component within 5 minutes of applying the liquid gasket.

* Apply a 2.5 mm (0.098 in) diameter bead of liquid gasket along the broken line (A) and (B).
* Apply a 3.0 mm (0.118 in) diameter bead of liquid gasket along the broken line (C).
* If too much time has passed after applying the liquid gasket, remove the old liquid gasket and residue, then reapply new liquid gasket.





5. Apply liquid gasket (P/N 08718-0004 or 08718-0009) to the oil pan mating surface of the chain case, and to the inside edge of the threaded bolt holes. Install the component within 5 minutes of applying the liquid gasket.

NOTE:
* Apply a 2.5 mm (0.098 in) diameter bead of liquid gasket along the broken line (A).
* Apply a 3.0 mm (0.118 in) diameter bead of liquid gasket along the broken line (B).
* If too much time has passed after applying the liquid gasket, remove the old liquid gasket and residue, then reapply new liquid gasket.

6. Install the spacer (A), then install a new O-ring (B) on the chain case. Set the edge of the chain case (C) to the edge of the oil pan (D), then install the chain case on the engine block (E). Wipe off the excess liquid gasket on the oil pan and the chain case mating area.

NOTE:
* When installing the chain case, do not slide the bottom surface onto the oil pan mounting surface.
* Wait at least 30 minutes before filling the engine with oil.
* Do not run the engine for at least 3 hours after installing the chain case.










24. Side Engine Mount Bracket, Engine Side





1. Install the side engine mount bracket (A), then tighten the side engine mount bracket mounting bolts.

25. Crankshaft Pulley





1. Clean the crankshaft pulley (A), the crankshaft (B), the bolt (C), and the washer (D). Lubricate with new engine oil as shown.





2. Install the crankshaft pulley, and hold the pulley with the holder handle (A) and the crankshaft pulley holder (B).

3. Torque the bolt to 50 Nm (5.1 kgfm, 37 lbfft) with a torque wrench and a socket, 19mm(C). Do not use an impact wrench. If the pulley bolt or crankshaft are new, torque the bolt to 177 Nm (18.0 kgfm, 131 lbfft), then remove the bolt and torque it to 50 Nm (5.1 kgfm, 37 lbfft).

4. Tighten the pulley bolt an additional 90 °.

26. VTC Oil Control Solenoid Valve





1. Install the VTC oil control solenoid valve (A) with a new O-ring (B).

NOTE:
* Coat a new O-ring with engine oil.
* Clean and dry the mating surface of the valve.

2. Install the ground cable (C).

27. Cam Chain Case Peripheral Assembly





1. Install the harness clamp.

28. Valve Clearance - Adjustment





1. Set the No. 1 piston at top dead center (TDC). The punch mark (A) on the VTC actuator and the punch mark (B) on the exhaust camshaft sprocket should be at the top. Align the TDC marks (C) on the VTC actuator and the exhaust camshaft sprocket.

2. Select the correct feeler gauge for the valve clearance you are going to check.
















3. Insert the feeler gauge (A) between the adjusting screw (B) and the end of the valve stem on the No.1 cylinder, and slide it back and forth; you should feel a slight amount of drag.





4. If you feel too much or too little drag, loosen the locknut with the locknut wrench and the adjuster, and turn the adjusting screw until the drag on the feeler gauge is correct.

5. Tighten the locknut to the specified torque, and recheck the clearance. Repeat the adjustment if necessary.












6. Rotate the crankshaft 180 ° clockwise (camshaft pulley turns 90 °).

7. Check and, if necessary, adjust the valve clearance on the No. 3 cylinder.





8. Rotate the crankshaft 180 ° clockwise (camshaft pulley turns 90 °).

9. Check and, if necessary, adjust the valve clearance on the No. 4 cylinder.





10. Rotate the crankshaft 180 ° clockwise (camshaft pulley turns 90 °).

11. Check and, if necessary, adjust the valve clearance on the No. 2 cylinder.

29. Cylinder Head Cover





1. Check the spark plug seals for damage. If any seals are damaged, replace them.

2. Thoroughly clean the head cover gasket and the groove.

NOTE: Check and, if necessary, replace the head cover gasket.

3. Install the head cover gasket (A) in the groove of the cylinder head cover (B). Make sure the head cover gasket is seated securely.





4. Remove all of the old liquid gasket from the chain case and the No.5 rocker shaft holder.

5. Clean the head cover contacting surfaces with a shop towel.

6. Apply liquid gasket, (P/N 08718-0004 or 08718-0009) on the chain case and the No. 5 rocker shaft holder mating areas (A). Install the component within 5 minutes of applying the liquid gasket.

NOTE: If too much time has passed after applying the liquid gasket, remove the old liquid gasket and residue, then reapply new liquid gasket.





7. Set the spark plug seals (A) on the spark plug tubes. Place the cylinder head cover (B) on the cylinder head, then slide the cover slightly back and forth to seat the head cover gasket.

8. Inspect the spark plug seals for damage.

9. Inspect the cover washers (C). Replace any washer that is damaged or deteriorated.





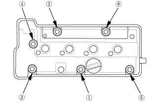
10. Tighten the bolts in two steps. In the final step torque bolts, in sequence, to 12 Nm (1.2 kgfm, 9 lbfft).

NOTE:
* Wait at least 30 minutes before filling the engine with oil.
* Do not run the engine for at least 3 hours after installing the head cover.

30. Ignition Coil





1. Install the ignition coils.

31. Ignition Coil Cover





1. Install the ignition coil cover.

32. Starter





1. Install the starter.

33. Water Passage Assembly





1. Install the water passage with new O-ring.

34. Alternator





1. Install the alternator.

35. WU-TWC





1. Install the WU-TWC with new gasket.

2. Install the exhaust chamber cover.

36. A/F Sensor





1. Install the A/F sensor.

37. Injector Base Assembly





1. Install the injector base (A) with a new gasket (B).

38. Intake Manifold and Throttle Body Assembly





1. Install the intake manifold (A) with new gaskets (B), and tighten the bolts and nuts in a crisscross pattern in three steps, beginning with the inner bolt.

39. Fuel Injector and Rail Assembly





1. Install the rail with the fuel injector.

40. Flywheel





1. Install the flywheel (A) on the crankshaft, and install the mounting bolts (B) finger-tight.

2. Install the ring gear holder.





3. Tighten the flywheel mounting bolts (A) in a crisscross pattern in several steps.

41. Clutch Disc





1. Temporarily install the clutch disc onto the splines of the transmission mainshaft. Make sure the clutch disc slides freely on the mainshaft.

2. Apply super high temp urea grease (P/N 08798-9002) to the splines (A) of the clutch disc (B).

NOTE: Wipe off any excess grease.

3. Install the clutch disc using the clutch alignment shaft and the remover handle.

42. Pressure Plate





1. Install the pressure plate (A) and the mounting bolts (B) finger-tight.





2. Torque the pressure plate mounting bolts (A) in a crisscross pattern.

NOTE:
* Tighten the bolts in several steps to prevent warping the diaphragm spring.
* Make sure that there is no clearance between the pressure plate and the flywheel.







3. Remove the ring gear holder.

4. Remove the clutch alignment shaft and the remover handle.

5. Make sure the diaphragm spring fingers are all the same height.

43. Manual Transmission Assembly





1. Install the transmission.

44. Clutch Cover





1. Install the clutch case cover and the transmission mounting bolts.

45. Intermediate Shaft Assembly





1. Install the intermediate shaft into the differential correctly.

NOTE: Insert the intermediate shaft carefully to prevent damaging the oil seal.

46. Engine Wire Harness





1. Install the engine wire harness.