Traction Control Module: Service and Repair
VSA Modulator-Control Unit Removal and Installation
Removal
1. VSA Modulator-Control Unit Assembly
1. Turn the ignition switch to LOCK (0).
2. Disconnect the 10 mm brake lines (A).
3. Disconnect the 12 mm brake lines (B).
4. Disconnect the connector (A) by pushing the lock (B) and pulling down the lever (C); the connector disconnects itself.
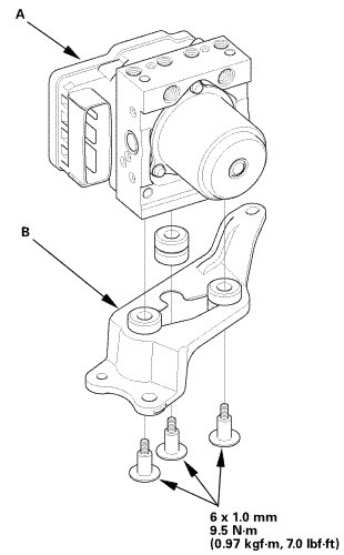
5. Remove the VSA modulator-control unit (A) with the bracket (B).
6. Remove the VSA modulator-control unit (A) from the bracket (B).
Installation
1. VSA Modulator-Control Unit Assembly
1. Install the VSA modulator-control unit (A) onto the bracket (B).
2. Install the VSA modulator-control unit (A) with the bracket (B).
3. Align the connecting surface of the connector (A).
4. Pull up the lever (B) of the connector, then confirm the connector is fully seated.
5. Connect the 10 mm brake lines.
6. Connect the 12 mm brake lines.
NOTE: Brake lines are connected to the master cylinder (A), the left-rear (B), the right-front (C), the left-front (D), and the right-rear (E) brake systems.
2. Brake System - Bleeding (Natural Gas Model)
NOTICE:
Do not spill brake fluid on the vehicle; it may damage the paint. If brake fluid does contact the paint, wash it off immediately with water.
NOTE:
* Do not reuse the drained fluid. Use only new Honda DOT 3 Brake Fluid from an unopened container. Using a non-Honda brake fluid can cause corrosion and shorten the life of the system.
* Make sure no dirt or other foreign matter gets in the brake fluid.
* The reservoir connected to the master cylinder must be at the MAX (upper) level mark at the start of the bleeding procedure and checked after bleeding each wheel. Add fluid as required.
* There are three different methods used for bleeding brake systems. The method shown here is the preferred manual method for removing the air from the system. For pressure or vacuum bleeding, refer to tool manufacturer's instructions included with the tool.
1. Make sure the brake fluid level in the reservoir tank (A) is at the MAX (upper) level line (B).
2. Start the bleeding at the driver's side of the front brake system.
NOTE: Bleed the calipers in the sequence shown.
Front
Rear
3. Attach a length of clear drain tube (A) to the bleed screw (B).
4. Submerge the other end of the drain tube into a clear plastic catch bottle of brake fluid (C).
5. Have an assistant slowly pump the brake pedal several times then apply steady continuous pressure.
6. Loosen the bleed screw slowly to bleed the fluid into the plastic catch bottle. The brake pedal will travel toward the floor as the fluid is bled from the system.
7. When the brake pedal reaches the floor, have the assistant hold the pedal in that position, then tighten the bleed screw. The brake pedal can now be released.
8. Check and refill the master cylinder reservoir tank to the MAX (upper) level line. Be sure to reinstall the master cylinder reservoir cap.
9. Repeat steps 5 thru 8 until the brake fluid in the clear drain tube appears fresh and there are no air bubbles in the fluid.
10. Repeat this procedure for each brake in the bleeding sequence.
3. HDS DLC - Connection
1. Connect the HDS to the data link connector (DLC) (A) located under the driver's side of the dashboard.
2. Turn the ignition switch to ON (II).
3. Make sure the HDS communicates with the vehicle. If it does not communicate, go to the DLC circuit troubleshooting.
4. VSA Modulator-Control Unit - Update
NOTE:
* Use this procedure when you need to update the VSA modulator-control unit at any time.
* Make sure the HDS/iN workstation has the latest software version.
* Before you update the VSA modulator-control unit, make sure the battery in the vehicle is fully charged, and connect a jumper to the battery (not a battery charger) to maintain system voltage.
* Never turn the ignition switch to LOCK (0) or ACCESSORY (I) during the update. If there is a problem with the update, leave the ignition switch ON (II).
* To prevent VSA modulator-control unit damage, do not operate anything electrical (headlights, audio system, brakes, A/C, power windows, door locks, etc.) during the update.
* To ensure the latest program is installed, do a VSA modulator-control unit update whenever the VSA modulator-control unit is substituted or replaced.
* You cannot update a VSA modulator-control unit with a program it already has. It will only accept a new program.
* High temperature in the engine compartment might cause the VSA modulator-control unit to become too hot to run the update. If the engine has been running before this procedure, open the hood and cool the engine compartment.
* If you need to diagnose the Honda interface module (HIM) because the HIM's red (#3) light came on or was flashing during the update, leave the ignition switch in ON (II) when you disconnect the HIM from the data link connector (DLC). This will prevent VSA modulator-control unit damage.
* DTCs stored in memory are cleared when the VSA modulator-control unit is updated.
1. Select the update mode, and follow the screen prompts to update the VSA modulator-control unit.
2. If the software in the VSA modulator-control unit is the latest, disconnect the HDS/HIM/GNA600 from the DLC. If the software in the VSA modulator-control unit is not the latest, follow the instructions on the screen.
5. VSA Sensor Neutral Position - Memorization
1. Park the vehicle on a flat and level surface, with the steering wheel in the straight ahead position.
2. Select VSA ADJUSTMENT, then select ALL SENSORS with the HDS, and follow the screen prompts.
NOTE: See the HDS Help menu for specific instructions.
6. Steering Angle Sensor Neutral Position - Clear
1. Select EPS ADJUSTMENT, then select EPS STEERING ANGLE SENSOR VALUE CLEAR and follow the screen prompts on the HDS.
NOTE: See the HDS Help menu for specific instructions.