Curiosii for ever!: Car repair manuals for everyone.

SD Module Removal and Installation






SD Module Removal and Installation

Removal

1. Driver's Dashboard Lower Cover





1. Remove the driver's dashboard lower cover (A).

2. Dashboard Subdisplay Visor





1. Remove the dashboard subdisplay visor (A).

3. Center Lower Panel





1. Remove the center lower panel (A).

NOTE: Take care not to scratch the center console panel or the related parts.

4. Audio-Navigation Unit Assembly




NOTE:
* Lay a workshop towel under the parts when working on them to protect the face panel from scratches or other damage.
* Do not work in a dusty or dirty place.
* Discharge static electricity from your body before and during the work.
* Do not touch the circuit board(s) with your bare hands.
* Do not work with dirty hands.
* Do not touch the terminal connector of the flat plate cable with your bare hands (If you have touched it, wipe it off thoroughly.).
* Eject the discs before removing the audio-navigation unit to prevent damaging the CD/DVD player's load mechanism.
* If you are replacing the audio-navigation unit, write down the audio presets (if possible), then enter them into the new audio-navigation unit.
* When the audio-navigation unit is replaced or disconnected, do the Map Matching. This part of the initialization matches the GPS coordinates with a road on the map screen. To do this part of the procedure, make sure that the navigation system displays a map, and drive the vehicle on a mapped road shown on the map screen. Do not enter a destination at this time. When the name of the current road you are driving on appears at the bottom of the screen, the entire procedure is complete.

1. Remove the bolts (A).





2. Disconnect the connectors, then pull out the audio-navigation unit (A).

5. SD Module




NOTE:
* The audio-navigation unit and SD module are mated and cannot be substituted separately. If you need to substitute a known-good unit for testing, substitute a complete known-good audio-navigation unit and SD module.
* Check any official Honda service website for more service information about the navigation system.
* Static electricity can damage the SD module. Always follow proper handling procedures.
* Always use the anti-static mat (ESD) and wrist strap when removing the SD module. Before you open the audio-navigation unit or handle the replacement SD module, attach the wrist strap around one of your wrists, and attach the alligator clip to the ESD mat.
* Make sure you use the screws in the same holes. The SD module can be damaged if the wrong screws are used.
* You do not have to peel off the plastic cover to remove the screws or the SD module.
* Do not force the SD module. If it does not slide in smoothly, check the alignment of the SD module and the pins. If the pins are bent, replace the SD module.
* Make sure the SD module screws are not loose. If they are, the SD module can be damaged.
* Make sure the SD module screws are not loose. If they are, the SD module can be damaged.
* Handle the SD module by its edges. Do not touch the pins.

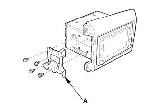
1. Remove the passenger's side bracket (A).





2. Pull out the SD module (A).

Installation

1. SD MODULE





1. Install the SD module (A).

NOTE: Make sure the SD module is properly aligned when installing the SD module.





2. Install the passenger's side bracket (A).

2. Audio-Navigation Unit Assembly





1. Connect the connectors, then install the audio-navigation unit (A).

NOTE: Make sure all the connectors and the antenna lead are secure.





2. Install the bolts (A).

3. Center Lower Panel





1. Install the center lower panel (A).

NOTE: Take care not to scratch the center console panel or the related parts.

4. Dashboard Subdisplay Visor





1. Install the dashboard subdisplay visor (A).

5. Driver's Dashboard Lower Cover





1. Install the driver's dashboard lower cover (A).