Curiosii for ever!: Car repair manuals for everyone.

Wiper Motor: Service and Repair






Wiper Motor Removal and Installation

Removal

1. Wiper Arm Assembly





NOTE: Set the wiper arms to the auto-stop position before removal.

1. Remove the cowl top wiper covers (A).

2. Remove the wiper arms (B).

2. Both Side Cowl Covers





1. Remove the side cowl cover (A).

2. The left side is shown; repeat on the right side.

3. Center Cowl Cover





1. Remove the center cowl cover (A).

2. Disconnect the windshield washer tube (B).

3. If necessary, remove the hood rear seal (C).

4. Under Cowl Panel





1. Remove the under cowl panel (A).

5. Wiper Motor and Linkage Assembly

1. Apply protective tape (A) along the edge of the windshield.






2. Disconnect the connector.

3. Remove the wiper linkage assembly (B).

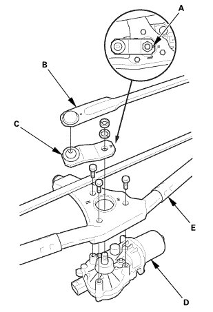
6. Wiper Motor





1. Mark lines (A) to show the original adjustment.

2. Remove the connection rod (B) from the link (C).

3. Remove the wiper motor (D) from the linkage (E).

Installation

1. Wiper Motor





NOTE: Screw threads are not tapped into the new wiper motor. Install the new motor as follows, using the self-tapping bolts provided.

1. Position the wiper motor (A) under the linkage (B) and tighten the self-tapping bolts until the bolt heads just make contact with the linkage.

NOTE:
* Screw in the bolts, keeping them vertical.
* Do not use an air tool or impact wrench to install the bolts.
* Use only the self-tapping bolts provided with the motor.

2. Loosen the bolts, then retighten them to the specified torque.

3. Install the link (C).

4. Align the mark (D) on the link with the mark (E) on the linkage.

5. Install the connection rod (F) to the link.

2. Wiper Motor and Linkage Assembly

1. Install the wiper linkage assembly (A).






2. Connect the connector.

3. Under Cowl Panel





1. Install the under cowl panel (A).

4. Center Cowl Cover





1. If necessary, install the hood rear seal (A).

2. Connect the windshield washer tube (B).

3. Install the center cowl cover (C).

5. Both Side Cowl Covers





1. Install the side cowl cover (A).

2. The left side is shown; repeat on the right side.

6. Wiper Arm Assembly





NOTE: Set the wiper arms to the auto-stop position before installation.

1. Install the wiper arms (A).

2. Install the cowl top wiper covers (B).

7. Wiper Arm/Nozzle - Adjustment

NOTICE:
* Adjust the washer nozzles by gently gripping, and then moving, the outside of each nozzle (A).
* Do not insert tools into the nozzle hole (B), as it may cause the washer fluid to spray incorrectly.

1. Turn the ignition switch to ON (II), then turn the wiper switch ON, and then back OFF.






2. When the wiper arms stop at the auto-stop position, make sure that they are at the correct position:

* Position (a) from the top of the cowl cover (C):

- 2-Door: 63.5 mm (2.500 in)
- 4-Door: 72.4 mm (2.850 in)

* Position (b) from the top of the cowl cover:

- 2-Door: 24.5 mm (0.965 in)
- 4-Door: 25.6 mm (1.008 in)

3. When you turn on the washer(s), make sure 50 % or more of the washer fluid lands within the spray area. If the spray area is not within the standard positions, adjust the nozzle(s):

* Position (c) from the top of the black ceramic area (D) at the lower windshield:

- 2-Door: 155.1 mm (6.106 in)
- 4-Door: 133 mm (5.24 in)

* Position (b) from the windshield center line (E):

- 2-Door: 250 mm (9.84 in)
- 4-Door: 250 mm (9.84 in)