Curiosii for ever!: Car repair manuals for everyone.

Transmission Temperature Sensor/Switch: Service and Repair






ATF Temperature Sensor Removal and Installation

Removal

1. Vehicle Lift

1. Raise the vehicle on a lift, and make sure it is securely supported.

2. Engine Undercover





1. Remove the engine undercover (A).

3. Splash Shield

1. Remove the splash shield (A).





4. ATF - Replacement





1. Remove the drain plug (A), and drain the ATF.

2. Reinstall the drain plug using a new sealing washer (B).

5. A/T Solenoid Cover





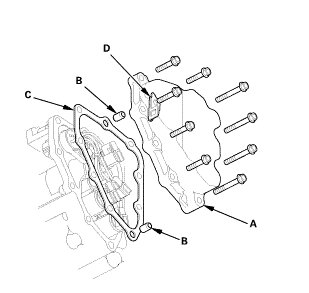
1. Remove the shift solenoid valve cover (A) with the dowel pins (B), the gasket (C), and the clamp bracket (D).

6. ATF Temperature Sensor





1. Disconnect the connector (A).





2. Disconnect the connectors (A).

3. Remove the shift solenoid wire harness (B) with the O-ring (C).

NOTE: The ATF temperature sensor is not available separately from the shift solenoid wire harness.

Installation

1. ATF Temperature Sensor





1. Install the shift solenoid wire harness (E) using a new O-ring (F).

2. Connect the shift solenoid valve connectors:

* BLU wire to shift solenoid valve A.
* ORN, WHT, and WHT wires to shift solenoid valve B.
* GRN wire to shift solenoid valve C.
* YEL wire to shift solenoid valve D.





3. Check the connector (A) for corrosion, dirt, or oil, and clean or repair if necessary, then connect the connector securely.

2. A/T Solenoid Cover





1. Install the shift solenoid valve cover (A) with the dowel pins (B), a new gasket (C), and the clamp bracket (D).

3. ATF - Replacement





1. Remove the ATF dipstick (yellow loop) (A), and wipe it with a clean cloth.

2. Refill the transmission with the recommended fluid into the dipstick hole (A) to bring the fluid level between the upper mark and the lower mark of the dipstick. Always use Honda automatic transmission fluid (ATF) ATF DW-1. Using a non-Honda ATF can affect shift quality.
















3. Insert the ATF dipstick (A) back into the dipstick hole.

4. Remove the dipstick.

5. Make sure the fluid level is between the upper mark (B) and the lower mark (C) on the dipstick.

6. Insert the dipstick back into the dipstick hole.

4. Splash Shield

1. Install the splash shield (A).





5. Engine Undercover





1. Install the engine undercover (A).

6. Maintenance Minder Reset

1. After doing all procedures, select the individual maintenance item you wish to reset with the HDS (See the Maintenance Minder General Information).