Curiosii for ever!: Car repair manuals for everyone.

Part Two




Piston, Ring, Pin, and Connecting Rod Removal and Installation

15. Set The No.1 Piston at Top Dead Center (Without Cam Chain Case/Oil Pump)





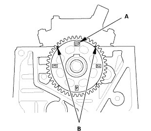
1. Set the camshaft to TDC. The "UP" mark (A) on the camshaft sprocket should be at the top, and the TDC grooves (B) on the camshaft sprocket should line up with the top edge of the head.

16. Cam Chain





1. Install the cam chain on the crankshaft sprocket with the colored piece (A) aligned with the mark (B) on the crankshaft sprocket.





2. Install the cam chain on the camshaft sprocket with the colored link plate (A) aligned with the mark (B) on the camshaft sprocket.





3. Install the cam chain guide (A) and the cam chain tensioner arm (B).

17. Cam Chain Auto-Tensioner





1. Compress the cam chain auto-tensioner when replacing the cam chain. Remove the pin (A) from the auto-tensioner that was installed during removal. Turn the plate (B) counterclockwise, to release the lock, then press the rod (C), and set the first cam (D) to the first edge of the rack (E). Insert the 1.0 mm (1/32 in) diameter pin back into the holes (F).

NOTE: If the chain tensioner is not set up as described, the tensioner will be damaged.





2. Install the cam chain auto-tensioner.





3. Remove the pin from the cam chain auto-tensioner.

18. Engine Oil Pump Assembly





1. Check the oil pump oil seal for damage. If the oil seal is damaged, replace the oil seal.

2. Remove all of the old liquid gasket from the oil pump mating surfaces, the bolts, and the bolt holes.

3. Clean and dry the oil pump mating surfaces.

4. Apply liquid gasket (P/N 08718-0004 or 08718-0009) to the engine block mating surface of the oil pump, and to the inside edge of the threaded bolt holes. Install the component within 5 minutes of applying the liquid gasket.

NOTE:
* Apply a 2.5 mm (0.098 in) diameter bead of liquid gasket along the broken line (A), (B), and (C).
* If too much time has passed after applying the liquid gasket, remove the old liquid gasket and residue, then reapply new liquid gasket.





5. Apply liquid gasket (P/N 08718-0004 or 08718-0009) to the oil pan mating surface of the oil pump, and to the inside edge of the threaded bolt holes. Install the component within 5 minutes of applying the liquid gasket.

* Apply a 2.5 mm (0.098 in) diameter bead of liquid gasket along the broken line (A).
* If too much time has passed after applying the liquid gasket, remove the old liquid gasket and residue, then reapply new liquid gasket.









6. Set the edge of the oil pump (A) on the edge of the oil pan (B) with new O-rings (C).

7. Install the oil pump on the engine block (D).

8. Loosely install the dowel bolts (E), then tighten the 8mmbolts (F), the 6 mm bolts (G) and the dowel bolts.

9. Wipe off the excess liquid gasket on the oil pan and oil pump mating surface.

NOTE:
* When installing the oil pump, do not slide the bottom surface onto the oil pan mounting surface.
* Wait at least 30 minutes before filling the engine with oil.
* Do not run the engine within 3 hours after installing the oil pump.

19. Crankshaft Oil Seal, Transmission side





1. Apply a light coat of new engine oil to the crankshaft and the lip of the crankshaft oil seal.

2. Use the driver handle and the oil seal driver attachment, 96 mm to drive a new crankshaft oil seal (A) squarely into the engine block to the specified installed height.





3. Measure the distance between the engine block (A) and the crankshaft oil seal (B).








20. Crankshaft Pulley





1. Clean the crankshaft pulley (A), the crankshaft (B), the bolt (C), and the washer (D).

2. Lubricate with new engine oil as shown.





3. Install the crankshaft pulley (A) onto the crankshaft (B) by aligning the flat sides (C) of the pulley with the flat sides (D) of the inner oil pump gear.









When a new crankshaft or a new pulley bolt is installed

4. Hold the pulley with the holder handle (A) and crankshaft pulley holder (B), torque the bolt to 180 Nm (18.4 kgfm, 133 lbfft) with a torque wrench and a socket (C), then remove the bolt.

5. Torque the bolt to 50 Nm (5.1 kgfm, 37 lbfft) with a torque wrench and a socket.

NOTE: Tighten the crankshaft pulley bolt. Do not use an impact wrench.

6. Tighten the bolt an additional 82 °.









When the crankshaft or the pulley bolt is reused

7. Hold the pulley with the holder handle (A) and crankshaft pulley holder (B), then torque the bolt to 70 Nm (7.1 kgfm, 52 lbfft) with a torque wrench and a socket (C).

NOTE: Tighten the crankshaft pulley bolt. Do not use an impact wrench.

8. Tighten the bolt an additional 90 °.

21. Valve Clearance Adjustment





1. Set the No. 1 piston at top dead center (TDC). The "UP" mark (A) on the camshaft sprocket should be at the top, and the TDC grooves (B) on the camshaft sprocket should line up with the top edge of the head.

2. Select the correct feeler gauge for the valve clearance you are going to check.
















3. Insert the feeler gauge (A) between the adjusting screw (B) and the end of the valve stem on the No. 1 cylinder, and slide it back and forth; you should feel a slight amount of drag.





4. If you feel too much or too little drag, loosen the locknut, and turn the adjusting screw (A) until the drag on the feeler gauge is correct.

5. Tighten the locknut to the specified torque, and recheck the clearance. Repeat the adjustment if necessary.












6. Rotate the crankshaft clockwise. Align the No. 3 piston TDC groove (A) on the camshaft sprocket with the top edge of the head.

7. Check and, if necessary, adjust the valve clearance on the No. 3 cylinder.





8. Rotate the crankshaft clockwise. Align the No. 4 piston TDC groove (A) on the camshaft sprocket with the top edge of the head.

9. Check and, if necessary, adjust the valve clearance on the No. 4 cylinder.





10. Rotate the crankshaft clockwise. Align the No. 2 piston TDC groove (A) on the camshaft sprocket with the top edge of the head.

11. Check and, if necessary, adjust the valve clearance on the No. 2 cylinder.

22. Cylinder Head Cover and/or Packing





1. Thoroughly clean the head cover gasket and the groove.

NOTE: Check and, if necessary, replace the head cover gasket.

2. Install the head cover gasket (A) in the groove of the cylinder head cover (B).

3. Make sure the head cover gasket is seated securely.

4. Clean the head cover contacting surfaces with a shop towel.





5. Remove the old liquid gasket from the top edge matting surfaces of the oil pump (A) and cylinder head (B).

6. Apply liquid gasket (P/N 08718-0004 or 08718-0009) to the chain case contact areas. Install the component within 5 minutes of applying the liquid gasket.

NOTE:
* Apply a 5 mm (0.20 in) diameter bead of liquid gasket to the mating surfaces (C).
* If too much time has passed after applying the liquid gasket, remove the old liquid gasket and residue, then reapply new liquid gasket.





7. Install the cylinder head cover.

8. Tighten the bolts in two steps. In the final step, torque all bolts in sequence to 10 Nm (1.0 kgfm, 7 lbfft).

NOTE:
* Wait at least 30 minutes before filling the engine with oil.
* Do not run the engine for at least 3 hours after installing the head cover.





9. Connect the breather hose (A).

10. Install the dipstick (B).

23. Auto Tensioner Assembly





1. Install the drive belt auto-tensioner.

24. Water Pump Pulley





1. Install the water pump pulley.

25. A/C Compressor Bracket





1. Install the A/C compressor bracket.

26. Intermediate Shaft Assembly





1. Insert the intermediate shaft (A) into the differential correctly.

NOTE: Insert the intermediate shaft carefully to prevent damaging the oil seal (B).





2. Install the crankshaft position (CKP) sensor cover (A).

27. Lower Torque Rod Bracket (M/T)





1. Install the lower torque rod bracket.

28. Lower Torque Rod Bracket (A/T)





1. Install the lower torque rod bracket.

29. Alternator





1. Install the alternator.

30. Thermostat Housing





1. Install the thermostat housing (A), using a new gasket (B) and new O-ring (C).

31. Catalytic Converter and EGR Pipe Assembly





1. Install the catalytic converter.





2. Install the EGR pipe.

32. Exhaust Chamber Cover





1. Install the exhaust chamber cover (A).

33. A/F Sensor (Sensor 1)





1. Install the A/F sensor (A).

2. Connect the connector.

34. Drive Plate Assembly





1. Install the drive plate (A) and the washer (B), and tighten the eight bolts in a crisscross pattern in at least two steps.

35. Automatic Transmission Assembly (A/T)





1. Install the automatic transmission.

36. Flywheel





1. Install the flywheel (A) on the crankshaft, and install the mounting bolts (B) finger-tight.

2. Install the ring gear holder.





3. Tighten the flywheel mounting bolts (A) in a crisscross pattern in several steps.

37. Clutch Disc





1. Temporarily install the clutch disc onto the splines of the transmission mainshaft. Make sure the clutch disc slides freely on the mainshaft.

2. Apply super high temp urea grease (P/N 08798-9002) to the splines (A) of the clutch disc (B).

NOTE: Wipe off any excess grease.

3. Install the clutch disc using the clutch alignment shaft and the remover handle.

38. Pressure Plate





1. Install the pressure plate (A) and the mounting bolts (B) finger-tight.





2. Torque the pressure plate mounting bolts (A) in a crisscross pattern.

NOTE:
* Tighten the bolts in several steps to prevent warping the diaphragm spring.
* Make sure that there is no clearance between the pressure plate and the flywheel.







3. Remove the ring gear holder.

4. Remove the clutch alignment shaft and the remover handle.

5. Make sure the diaphragm spring fingers are all the same height.

39. Manual Transmission Assembly (M/T)





1. Install the manual transmission.

40. Engine Wire Harness





1. Install the engine wire harness.

41. Intake Manifold and Throttle Body Assembly





1. Install the intake manifold and throttle body assembly (A) with new gaskets (B).

2. Tighten the bolts and nuts in a crisscross pattern in three steps, beginning with the inner bolt.





3. Install the intake manifold bracket.





4. Connect the PCV hose (A).

5. Connect the connectors (B).

6. Install the harness clamps (C).

7. Connect the water bypass hoses (D).





8. Install the heater hose clamp bracket.





9. Install the intake air duct.